Статьи В строительстве жилых и промышленных объектов очень часто используются заглубленные и малозаглубленные ленточные сборные фундаменты. Чаще всего их делают из железобетонных блоков, но для этого также используют кирпичную и каменную кладку либо пеноблоки. Ниже мы узнаем подробнее о таких конструкциях, а также, в качестве дополнительного материала, посмотрим видео в этой статье. Сборный ленточный фундамент из блоков ФБС для промышленного объекта Сборные фундаменты: основы для колонн и конструкции ленточного типа. Ленточный фундамент с колоннами
Сборные фундаменты под колонны, план ленточного основания из блоков ФБС, серия свайных опор с ростверком, монтаж своими руками: инструкция, фото и видео-уроки, цена
Текущий рейтинг статьи: 
О фундаментах
Реклама

Сборный столбчатый фундамент с башмаком на разных грунтах
Это слово взято из латинского языка (fundamentum) и подразумевает несущую конструкцию в строительстве, на которой расположен какой-либо объект и служит для равномерного распределения всей массы на грунт. Существует четыре основных вида фундаментов: свайный, ленточный, столбчатый и плитный. Среди них сборным не может быть разве что плитный, во всяком случае, инструкция по его обустройству этого не предусматривает.

План сборного ленточного фундамента

Под колонны

Визуальное различие монолитной и сборной конструкции
Совет. При установке фундамента под колонны его верхняя точка должна быть ниже уровня грунта примерно на 15 см вне зависимости от состояния почвы. Для его установки в обязательном порядке засыпается песочная подушка или подошва, толщиной не менее 10 см.

Стройплощадка. Сборный фундамент из блоков

Траншея для ленточного фундамента
Совет. Для копки траншеи, помимо натянутой по наружному периметру нитки (шнура), натяните ещё одну, по внутреннему периметру. В таком случае, линия траншеи у вас получится ровной и не придётся выполнять лишнюю работу.

Принцип монтажа железобетонных плит для ленточного фундамента

Фундамент из пеноблоков
Каковы бы ни были сборные фундаменты — под колонны, железобетонные блоки или каменную кладку, они выполняют одну и ту же функцию – равномерно распределяют вес вышестоящей конструкции по грунту. Без таких конструкций строительство зданий невозможно (узнайте также как сделать незаглубленный ленточный фундамент).
Добавить в избранное Версия для печатиofundamentah.com
Ленточные фундаменты под рядами колонн возводят в виде отдельных лент продольного или поперечного (относительно рядов колонн) направления и в виде перекрестных лент (рис. 12.10). Ленточные фундаменты могут быть сборными и монолитными. Они имеют тавровое поперечное сечение с полкой понизу. При грунтах высокой связности иногда применяют тавровый профиль с полкой поверху. При этом уменьшается объем земляных работ и опалубки, но усложняется механизированная выемка грунта.
Рис. 12.10. Ленточные монолитные фундаменты под колоннами
а — отдельные ленты, б — перекрестные ленты, в — армирование ленточных фундаментов в поперечном сечении; г — то же в продольном направлении; 1 — ребро; 2 — полка, 3 — сварные каркасы; 4 — нижние сварные сетки; 5 — верхние сварные сетки корытообразные
Ленты армируют сварными или вязаными каркасами (см. рис. 12.10, в, г). Плоских сварных каркасов в поперечном сечении ребра должно быть не менее двух при ширине ребра b<400 мм, не менее трех при b=400... 800 мм и не менее четырех при Ь>800мм. Верхние продольные стержни сварных каркасов рекомендуется укреплять на всем протяжении в горизонтальном направлении сварными сетками (корытообразными или плоскими с крюками на концах поперечных стержней), а также в продольном направлении с помощью поперечных стержней в каркасах не реже, чем через 20d (где d — диаметр продольных стержней).
При армировании ребер вязаными каркасами число вертикальных ветвей хомутов в поперечном сечении должно быть не менее четырех при b=400...800 мм и не менее шести при b>800 мм. Хомуты — замкнутые, диаметром не менее 8 мм, с шагом не более 15d
Рис. 12.11. Армирование ленточных фундаментов
а — узкими стандартными сварными сетками; б — нестандартными сварными сетками; в — вязаными сетками; 1 — рабочие стержни полки; 2 — то же ленты;
3 — стыки сварных сеток
Сплошные фундаменты бывают: плитными безбалочными, плитно-балочными и коробчатыми (рис. 12.22). Наибольшей жесткостью обладают коробчатые фундаменты. Сплошными фундаменты делают при особенно больших и неравномерно распределенных нагрузках. Конфигурацию и размеры сплошного фундамента в плане устанавливают так, чтобы равнодействующая основных нагрузок от сооружения проходила в центре подошвы.
В некоторых случаях инженерной практики при расчете сплошных фундаментов достаточным оказывается приближенное распределение реактивного давления грунта по закону плоскости. Если на сплошном фундаменте нагрузки распределены редко, неравномерно, правильнее рассчитывать его как плиту, лежащую на деформируемом основании. Под действием реактивного давления грунта сплошной фундамент работает подобно перевернутому железобетонному перекрытию, в котором колонны выполняют роль опор, а элементы конструкции фундамента испытывают изгиб под действием давления грунта снизу.
В зданиях и сооружениях большой протяженности сплошные фундаменты (кроме торцовых участков небольшой длины) приближенно могут рассматриваться как самостоятельные полосы (ленты) определенной ширины, лежащие на деформируемом основании. Сплошные плитные фундаменты многоэтажных зданий загружены значительными сосредоточенными силами н моментами в местах опирания диафрагм жесткости. Это должно учитываться при их проектировании.
Безбалочные фундаментные плиты армируют сварными сетками. Сетки принимают с рабочей арматурой в одном направлении; их укладывают друг на друга не более чем в четыре слоя, соединяя без нахлестки в нерабочем направлении и внахлестку без сварки — в рабочем направлении. Верхние сетки укладывают на каркасы подставки.
Плитно-балочные сплошные фундаменты армируют сварными сетками и каркасами.
studfiles.net
Доброго времени суток дорогие читатели!
В этой статье рассмотрим оптимальный вариант как сделать сборный ленточный фундамент, с подвалом (на три комнаты), цоколем и ступеньками в подвал, для двухэтажного кирпичного дома.
Интерес к этой статье заключается в том, что фундамент, который будет подробно описан в этой статье, имеет необычную форму и поможет Вам найти ответы на ваши вопросы.
Рассмотрим интересные технические решения некоторых конструктивных узлов. В этой статье Вы найдете для себя много полезной информации.
В этой статье Вы узнаете:
- Как сделать гидроизоляцию подвала.
- Как сделать цоколь дешевле и качественно.
- Как сделать естественную вентиляцию в подвале.
.
.
.
Двухэтажный дом, для которого будем делать фундамент:

План фундамента:

.
а) На плане фундаментов, показано устройство подушки из сборных фундаментных плит. Для увеличения прочности фундамента мы будем делать подушку монолитную ж/б. Ширина ж/б подушки такая же – 1000 мм.
б) Заказчик этого дома пожелал, чтобы мы сделали подвал под домом, но на проекте подвала нет. Пришлось самим думать как же сделать подвал, какого размера и в каком месте его расположить.
Изначально заказчик хотел сделать не большой подвал, площадью 27 м2 по центру дома. Но как показывает практика этого маловато, так как по мимо закромов в хорошем подвале можно разместить еще оборудование, небольшой склад и тому подобное. Так же полезную площадь подвала занимает лестница.
В итоге решили делать подвал 67 м2. Подвал находится между осями 2-4 и Б-Д.
в) Увеличили длину гаража (гараж находится между осями 4-6 и осями А-Г). По проекту длина гаража 5660 мм, под шести метровые плиты. Мы сделали длину гаража больше – 6000 мм, под 6300 плиты. Мы удлинили гараж на 340 мм.
г) Круглый эркер на оси Ж заказчик попросил сделать более выдвинутым. По проекту эркер выступает на 500 мм, мы сделали 900 мм, выдвинули круглый эркер почти в два раза больше.

д) Уменьшили высоту цоколя на две ступени. По проекту высота цоколя 900 мм, мы сделали 600 мм.
.
.
.
Размечаем оси. Для этого используем обычные колышки (или обрезки арматуры), забиваем по контуру будущего здания. Между колышками натягиваем шнур (толщиной 3-5 мм). Необходимо приблизительно наметить здание на участке. Очень часто застройщики видя реальные размеры своего будущего дома смещают его в ту или другую сторону.
Если на соседних участках есть строения, то по нормативам на сегодняшний день (22. 11. 2013 год) необходимо строить новое здание не ближе чем на 6 метров от существующих зданий и хозяйственных построек (расположенных на соседних участках).
После того, как мы наметили контуры будущего дома, можно ставить выноски. Выноски это два колышка забитых в землю с прибитой горизонтальной планкой между ними.

Слишком близко к котловану выноски ставить не надо, так как они будут мешать строительной технике (экскаватору, крану, миксеру и тому подобное).В первую очередь ставим четыре выноски по наружным углам, натягиваем веревки и проверяем диагонали, чтобы оси проходили между собой параллельно.
Выноски необходимо ставить под ВСЕ оси. Если по какой либо причине, Вы сразу не разметили какую либо ось, то потом разметить ее будет сложнее, так как может мешать выкопанный грунт или, что нибудь еще.
Ширина выноски должна быть такой, чтобы хватило места разметить на ней и оси и края стен, как внутренние так и наружные. В нашем случае ширина стен цоколя 670 мм, а ширину выноски мы сделали около 1000 мм.
После того как мы забили все выноски в грунт, натянули оси, еще раз проверили, что все сделано правильно, теперь можно переносить контуры котлована на грунт для копки. Делается это очень просто, с помощью обычного песка.
Откладываем от оси край подушки фундамента (наружный или внутренний, какой удобнее), натягиваем шнур и по нему просыпаем песок.

.
.
.
После того как мы нарисовали песком контуры подушки фундамента, необходимо “отстрелять” участок нивелиром, чтобы узнать на сколько кривая плоскость участка. В нашем случае участок почти ровный и меряем глубину траншеи прямо от верха грунта.
Глубина фундамента по проекту показана 1200 мм. Наш участок находится не много ниже дороги, по этому мы копаем траншею котлована не на 1200 мм, а 1000 мм. Потом участок будет подсыпаться во круг дома и соответственно глубина от верха грунта до подошвы фундамента увеличится и будет более 1200 мм.
Ширина подушки фундамента будет 1000 мм. Фундамент и подвал копаем за один раз, с помощью обычного экскаватора и машины ЗИЛ – самосвал. Хороший грунт (чернозем) вывозим ЗИЛом не далеко, так как он потом пригодиться. Плохой грунт (чернозем с глиной) вывозим не далеко от котлована, так чтобы он не мешал технике.
Плохой грунт будет обратно засыпаться в пазухи между блоками и в цоколь.
Подвал копаем на глубину 1850 мм от верха грунта, остальная высота подвала увеличится за счет цоколя (потом будет понятнее). Должно получиться что-то типа этого:

Как видите на фото выше экскаватор копает не идеально и после него необходимо подчищать траншеи в ручную. Кажется земли не много нужно подчистить, но на практике пару камазов земли наберется.
Итак натягиваем все оси опять (можно по очереди) и подравниваем траншеи по ширине и глубине.
.
.
.
Под фундаментную подушку желательно делать песчаную подушку, толщиной 30-50 мм.

Круглую опалубку ставим с помощью небольших щитов фанеры. Затем укладываем каркасы в траншеи.

Каркас мы делаем из ребристой арматуры. Продольная арматура диаметром 12 мм, а по перечная диаметром 10 мм. Продольной арматуры четыре жили в низу и четыре жилы в верху. Поперечную арматуру привариваем с шагом 250 мм (через 250 мм).
Прямы каркасы мы для удобства сварили на верху, а круглый каркас пришлось делать по месту.
.
.
.
На заливку всей фундаментной подушки пошло 60 кубов бетона. Толщина фундаментной подушки 400 мм.
Для фундаментной подушки обычно используется бетон марки 100. Мы решили не много увеличить марку бетона до 150. Бетон привозят миксера. В тех местах где миксера подъехать не могут и не достают до траншеи, мы ставим деревянные лотки.

Верх лотков лучше всего обить жестью, чтобы бетон лучше скользил по лотку.
С одной стороны траншеи проходит газовая труба. Она мешает миксеру подъехать к траншее, чтобы залить бетон, по этому мы тоже ставим лотки. Необходимо обратить внимание на закрепление лотков, так как бетон тяжелый и наша конструкция может завалиться от тяжести бетона.

У нас лотки завалились и пришлось ставить их заново.
В первую очередь мы заливаем бетоном фундаментную подушку в подвале

.
.
.
Гидроизоляция – это важный раздел. В нашем примере грунтовые воды близко – от чистого пола в подвале до грунтовых вод около 700 мм, или 2400 мм от верха грунта.
Высоту грунтовых вод мы определили практическим путем, в начале весны, когда начались паводки – это самый высокий уровень грунтовых вод.
Нюанс: если грунтовые воды выше чистого пола в подвале, то лучше или приподнять уровень пола в подвале или не делать подвал вообще. Дело в том, что ни какая гидроизоляция не остановит грунтовые воды.
Чтобы сделать сухой подвал в условиях высоких грунтовых вод, необходимо затратить огромные деньги на сооружение дренажа, гидроизоляции и тому подобное и это не дает 100% гарантии, что подвал будет сухим.
Если все же Вам необходим подвал, то лучше всего сделать кессон.
Подвал под домом разместился очень удачно, так как он находиться по центру дома и касается только одной стороной наружной стены. И возле этой наружной стены будет находиться огромное круглое крыльцо, почти на всю сторону подвала.
Размещение подвала по центру дома дает два больших плюса:
- Наружные воды (осадки) не смогут затекать на стены подвала.
- Мороз не доберется до стен подвала.
Итак, гидроизоляцию стен подвала мы делаем окрасочным (обмазочным способом) с помощью мастики Abizol P по наружным стенам подвала, то есть где стены подвала касаются грунта. Так же мы делаем гидроизоляцию и там где фундаментные блоки касаются фундаментной подушки.
Если мастика густая, то ее можно развести растворителем, который указан на банке с мастикой.
Чтобы отсечь влагу от бетонной подушки, мы нижнюю часть блока, тоже окрашиваем гидроизоляцией. Сделать это очень удобно пред монтажом блоков. Мы раскладываем блоки в верх ногами с помощью крана, очищаем от грязи и наносим гидроизоляцию.
После того как гидроизоляция высохла, переворачиваем блоки обратно и монтируем на фундаментную подушку подвала.
Окрасочная гидроизоляция защищает подвал только от сырости, если вдруг по непонятной причине поднимутся грунтовые воды выше, то ни какая супер классная гидроизоляция их не остановит. Может быть первые пару лет супер классная гидроизоляция и будет держать грунтовую воду, но потом все равно рано или поздно даст течь.
.
.
.
Для всего ленточного фундамента мы использовали фундаментные блоки б/у
В первую очередь мы монтируем фундаментные блоки в подвале. Размеры блоков 2380 * 580 * 400 мм

Мы помазали заранее гидроизоляцией блоки не только снизу, но и с боков.
Обратите внимание, что фундаментные блоков лежат на боку – это нам необходимо для перевязки стен подвала с фундаментом дома, чтобы фундаментная подушка дома зашла на блоки подвала. Если фундаментные блоки ставить стоя, то тогда необходимо было бы делать ниже фундаментную подушку – на 200 мм и использовать более толстые блоки 580 мм (это только для первого ряда блоков).
Круглые стены подвала мы делаем из красного кирпича марки не ниже 150. Толщина стены из кирпича 380 мм.

Под кирпичную кладку кладем рубероид в два слоя или акваизол в один слой.
Второй ряд фундаментных блоков мы монтируем тоже плашмя, толщина блоков 400 мм. Это нам необходимо для перевязки стен подвала с фундаментом дома. Другими словами мы запускаем фундаментную подушку на блоки стен подвала

.
Круглый эркер мы монтируем с помощью кусков блоков, а не кратности закладываем кирпичом.

Монтируем второй ряд блоков с небольшим напуском наружу на 130 мм. То есть расширяем стены фундамента по всему периметру, делаем полку под лицевой кирпич, а сзади достраиваем в пол кирпича.

Нам необходимо сделать стены фундамента шире, так как стены цоколя дома 670 мм.
.
На фасаде дома находятся две ж/б колонны на них опирается балконная плита, на плиту наружная круглая стена, а на стену крыша и кровля.

По этому необходимо сделать хороший фундамент под колонны, чтобы он был цельным с фундаментом дома. Для этого мы связываем фундамент колон с фундаментом дома.
Под две колонны мы заливаем сплошную ж/б плиту, марка бетона 150. Плита заходить под фундаментные блоки стены подвала.

Низ плиты находится на том же уровне, что и фундаментная подушка всего дома, то есть низ плиты находиться на 1000 мм ниже уровня грунта. Под плитой мы так же сделали песчаную подушку. В плиту мы заложили каркас из ребристой арматуры диаметром 12 мм.
На фото выше видно как мы выпустили четыре жилы арматуры диаметром 14 мм, в том месте где будет опираться одна колонна и с другой стороны, правее мы тоже выпустили куски арматуры под вторую колонну.
Потом мы ставим опалубку во круг выпущенной арматуры, закладываем в опалубку каркас из арматуры диаметром 14 мм и заливаем бетоном марки 200.

По проекту ширина колон 315 мм, а фундамент нужно делать немного больше. Через пару дней можно снять опалубку.

Потом на это фундамент мы можем опереть колонны.
.
.
.
По верху блоков необходимо обязательно делать ж/б пояс. Делается он очень просто. По всему периметру, с наружной и внутренней стороны фундаментных блоков, кладем кирпичную кладку в пол кирпича (120 мм).

Кирпичная кладка будет служить опалубкой для пояса. Высота кирпичной кладки 3-4 ряда, ширина пазухи между кирпичами получается 430 мм. В пазуху кладем сетку из ребристой арматуры, продольная арматура диаметром 12 мм, а поперечная арматура диаметром 10 мм.

Между кирпичной кладкой заливаем бетон марки 200. Бетон заливали миксером. Всего на ж/б пояс пошло 9 кубов бетона.

.
.
.
У нас получился подвал на три комнаты:
- Первая комната коридор площадью – 25,4 м2.
- Вторая круглая комната площадью – 28,2 м2.
- Третья комната для хранения продуктов, площадью – 13,4 м2.
Высота потолка в подвале получилась – 2250 мм (от чистого пола в подвале до низа плит перекрытия).
.
Перемычки над дверями в подвале сделали ж/б, высота дверей стандартная 2100.

.
.
.
Монтируем плиты перекрытия над подвалом круглопустотные, б/у. Сложность заключается в том, что стены круглые, и придется подрезать круглопустотные плиты тоже в виде круга.

Потом отбиваем кусок плиты кулачком и ломом. Запаковываем трубы в плитах кирпичом на растворе, чтобы рубленый край плиты был жестче.

Тоже самое делаем с примыкающими плитами.

Не перекрытые некратности между плитами можно залить бетоном или заложить кирпичом. К примеру у нас получилось между стеной и плитой не перекрытое пространство 180 мм

Нюанс: плиты на подвал мы монтируем ниже чистого пола первого этажа на 120 мм, так как по первому этажу будут водяные теплые полы.
.
.
.
Обратите внимание на этот раздел, так как мало застройщиков делают вентиляцию в подвале правильно. Не достаточно сделать только один вытяжной канал в подвале, так как через какое-то время, теоретически канал “вытянет” весь воздух.
По этому обязательно необходимо делать по мимо вытяжного канала еще и приточный канал свежего воздуха.
В нашем примере подвал имеет три комнаты, соответственно нужно сделать три вытяжных канала из каждой комнаты и три приточных канала в каждую комнату.
.
Вытяжные каналы делаем как обычно в верху каждой комнаты, затем каналы идут в кирпичную трубу, а труба выходит на крышу дома. Таким образом длина вытяжного канала составляет около 11 метров, чего вполне достаточно.
На фото ниже видно вытяжной канал из круглой комнаты, который мы тянем в капитальной стене в трубу.

Труба идет в капитальной стене и на чердаке идет самостоятельно.
.
Приточные каналы делаем снаружи здания с помощью обычной пластиковой канализационной трубы диаметром 110 мм. Заходит приточная труба в подвал снизу, приблизительно 200 – 300 мм от чистого пола в подвале.

Приточную трубу лучше обсыпать песком.

Если засыпать трубу грунтом, то при усадке грунта, труба может повредиться. Далее вводим две трубы в цоколь, что бы было более красиво и аккуратнее.

Приточные каналы остаются в цоколе, на высоте от отмостки 200 – 400 мм.

Накрываются каналы сверху декоративной решеткой. Третий приточный канал мы вывели в цоколе с другой стороны дома.
.
.
.
Желательно цоколь отсечь от фундамента горизонтальной гидроизоляцией – обычным рубероидом в два слоя или акваизолом в один слой.

Высота цоколя на четыре ступени – 600 мм. Ширина стены цоколя 670 мм. Дешевле всего смонтировать цоколь из фундаментных блоков, чем из забутовочного кирпича. Высота цоколя позволяет смонтировать фундаментные блоки стоя.

Облицовываем цоколь хорошим лицевым кирпичом клинкерам, марки 350, водопоглощение 5%, морозостойкость F 150.

Сверху накрываем цоколь лицевым кирпичом на ребро, с одним круглым углом, той же фирмы и марки.


Круглый кирпич выступает от плоскости стены цоколя на 15 мм. Верх круглого кирпича это наш чистый пол, отметка 0.000. Кладем на круглый кирпич рубероид и строим стены дома.

Так как цоколь у нас выступающий (выступает от плоскости стены на 40 мм на ружу), то желательно его накрыть пленкой, чтобы не запачкать падающим раствором.
Дом в нашем примере двухуровневый. Правая сторона – гараж с подсобным помещением, ниже дома на четыре ступени, но цоколь с лицевой стороны имеют общий, так задумано в проекте.

.
.
.
Очень редко получается сделать в ход в подвал нормальным, с удобной лестницей. Многие застройщики не придают значения лестничному маршу в подвал, оставляют его на потом, а в конце он или не помещается или имеет очень высокие ступени (проступь) 180 – 200 мм, что очень не удобно.
Сложность размещения лестничного марша для входа в подвал заключается в том, что необходимо спуститься вниз на один этаж (с первого этажа в подвал), а для этого необходимо делать два лестничных марша с одной переходной площадкой.
Почти все застройщики думают, что достаточно одного марша для спуска в подвал. Но это не всегда так.
Вход в подвал делаем со стороны гаража, из подсобного помещения. Потому, что подсобное помещение и гараж ниже дома на четыре ступени – это уменьшает лестничный марш в подвал на четыре ступени и позволяет сделать всего один лестничный марш в подвал.
Ширина входа в подвал – 1120 мм.

Необходимо сделать стены для лестничного марша. Для этого мы монтируем краном фундаментные блоки в землю на песчаную подушку.


Блоки желательно обработать гидроизоляцией с боков и снизу (снаружи).
.
В нашем примере высота подвала от чистого пола первого этажа, до чистого пола в подвале составляет 2635 мм.
Что бы сделать лестницу на эту высоту нам необходимо сделать марш с 17 ступенями, по 155 мм. Благодаря тому, что подсобное помещение ниже дома на четыре ступени – это уменьшает лестничный марш на четыре ступени и составляет 13 ступеней. Ширина ступени 280 мм.
Лестничный марш делаем из бетона марки 100. Не много ошиблись, заложили первый ряд блоков в проеме и он мешает. Вырезали в боке лишнее, чтобы проходила ступенька.

Под ступеньку из бетона раскладываем рубероид в два слоя, чтобы отсечь влагу. Далее обходим блоки ступеньками из бетона.

Прокапываем грунт в виде ступеней, с таким расчетом, чтобы он был под бетонными ступенями.

Ширину каждой бетонной ступени делаем 600 мм.

На землю подсыпаем песок, расстилаем рубероид и заливаем следующую ступеньку шириной 600 мм. Из этих 600 мм виднеется только 280 мм, остальные 320 мм находятся под выше стоящей ступенькой. В каждую бетонную ступень, мы вкладываем кладочную сетку один слой (ширина очка сетки 50 на 50 мм).

.
– В целом получился хороший сборный ленточный фундамент.
- Подвал сухой и с естественной вентиляцией.
- Получилась удобная и дешевая лестница в подвал.
- Цоколь облицован качественным кирпичом. Удешевили строительство цоколя за счет б/у фундаментных блоков.
stroyimdom.com
Все те изменения, которые вы хотите внести в существующий фундамент не совсем правильные. Чертежи на фундаменты должны и могут быть выполнены только при наличии готового проекта на здание. Это нонсенс что в процессе строительства у вас появилась идея изменить схему здания, т. е. установить рамы (колонны и ригеля) . Для схемы здания с несущими стенами и совершенно разные фундаменты. Для схемы здания с несущими стенами ленточные фундаменты с разной шириной подошвы под разную нагрузку (несущие и ненесущие стены) . Для схемы здания с несущим каркасом (колонны и ригеля) выполняют столбчатые фундаменты под колонны каркаса и под стены только от нагрузки стены первого этажа. Вывод. Ни о каком сверлении не может быть речи. Или оставить схему без каркаса или переделать фундаменты.
по ленточному фундаменту вам логично возводить только несущую стену и уже на нее перекрытие плитами. под ваши колонны логично на именно вашей глине делать буронабивные сваи с ростверком, скажем 350 мм. Ну и 40х40 колонны -это под многоэтажку конечно. Короче-непонятно зачем вы все это затеяли
touch.otvet.mail.ru
Их выполняют обычно монолитными, таврового сечения с полкой понизу. В продольном направлении отдельная лента работает на изгиб, как балка, находящаяся под воздействием сосредоточенных нагрузок от колонн и отпора грунта снизу. Ребра армируют подобно неразрезным балкам. Продольную арматуру определяют расчетом прочности нормальных сечений на изгибающий момент, поперечную — расчетом наклонных сечений на поперечную силу. Фундаменты армируют сварными или вязаными каркасами. При армировании сварными каркасами в ребре должно быть не менее двух каркасов при b<400мм, не менее трех — при b = 400...800 мм и не менее четырех—приb>800 мм. Плоские каркасы объединяют в пространственные. Для этого к верхним продольным стержням приваривают соединительные стержни или на них укладывают сварные сетки.
Расстояние между стержнями продольной рабочей арматуры можно назначать по общим правилам; в тяжелых фундаментах для увеличения крупности заполнителя в бетоне эти расстояния следует принимать не менее 100 мм. В расчетное сечение арматуры ленты включают продольные стержни каркасов и сеток. Часть нижних продольных рабочих стержней (до 30%) может быть распределено по всей ширине полки.
Поскольку в процессе возведения и эксплуатации сооружения возможно неравномерное загружение фундамента и его неравномерная осадка, в ребрах укладывают непрерывную продольную верхнюю и нижнюю арматуру в количестве
=0,2...0,4 %.
Свесы полок тавра работают под воздействием отпора грунта как консоли, защемленные в ребре. Толщину полки назначают из условия, чтобы в ней не требовалась арматура для воспринятия поперечной силы. Для армирования полок целесообразно применять сварные сетки с рабочей арматурой в двух направлениях. При этом поперечные стержни используют как арматуру полки, а продольные включают в площадь нижней рабочей арматуры.
При расчете фундаментные ленты большого поперечного сечения и сравнительно малой длины при небольших расстояниях между колоннами можно считать абсолютно жесткими, поскольку деформации конструкции малы по сравнению с деформациями основания. Распределение давления по подошве таких фундаментов можно приближенно принимать по линейному закону.
Абсолютно жесткий ленточный фундамент рассчитывают как статически неопределимую балку, на которую сверху действует нагрузка от колонн, а снизу — реактивный отпор грунта. Размеры площади подошвы фундамента в этом случае устанавливают как для фундаментов, нагруженных внецентренно (или центрально) вдоль ленты. При симметричномзагружении ленты вдоль ее оси эпюра давления на грунт имеет вид прямоугольника, при несимметричном — трапеции.
Фундаментные ленты большой длины, загруженные колоннами, расположенными на значительных расстояниях, считаются гибкими, поскольку их перемещения соизмеримы с перемещениями основания. Согласно другому методу грунт рассматривают как однородное упругое тело, бесконечно простирающееся вниз и в стороны и ограниченное сверху плоскостью. Такое основание принято называть упругим полупространством. Расчет железобетонных ленточных фундаментов как балок на упругом основании и упругом полупространстве детально разработан и изложен в специальной литературе.


Сплошные фундаменты.
Сплошные фундаменты бывают: плитными безбалочными, плитно-балочными и коробчатыми (рис. 12.22). Наибольшей жесткостью обладают коробчатые фундаменты. Сплошными фундаменты делают при особенно больших и неравномерно распределенных нагрузках. Конфигурацию и размеры сплошного фундамента в плане устанавливают так, чтобы равнодействующая основных нагрузок от сооружения проходила в центре подошвы.
В некоторых случаях инженерной практики при расчете сплошных фундаментов достаточным оказывается приближенное распределение реактивного давления грунта по закону плоскости. Если на сплошном фундаменте нагрузки распределены редко, неравномерно,правильнее рассчитывать его как плиту, лежащую на деформируемом основании. Под действием реактивного давления грунта сплошной фундамент работает подобно перевернутому железобетонному перекрытию, в котором колонны выполняют роль опор, а элементы конструкции фундамента испытывают изгиб под действием давления грунта снизу.
В зданиях и сооружениях большой протяженности сплошные фундаменты (кроме торцовых участков небольшой длины) приближенно могут рассматриваться как самостоятельные полосы (ленты) определенной ширины, лежащие на деформируемом основании. Сплошные плитные фундаменты многоэтажных зданий загружены значительными сосредоточенными силами н моментами в местах опирания диафрагм жесткости. Это должно учитываться при их проектировании.
Безбалочные фундаментные плиты армируют сварными сетками. Сетки принимают с рабочей арматурой в одном направлении; их укладывают друг на друга не более чем в четыре слоя, соединяя без нахлестки в нерабочем направлении и внахлестку без сварки — в рабочем направлении. Верхние сетки укладывают иа каркасы подставки.
Плитио-балочные сплошные фундаменты армируют сварными сетками и каркасами. На рис. 12.23 приведен пример армирования фундамента многоэтажного здания. В толще плиты уложены двойные продольные и поперечные сетки. Наиболее напряженная зона дополнительно усилена двойным слоем продольных сеток. На местный изгиб плита армирована верхней арматурой, сгруппированной в сетки из трех рабочих стержней; между ними оставлены промежутки для доступа к нижней арматуре. В ребрах плоские каркасы объединены в пространственные приваркой поперечных стержней и связаны шпильками с арматурой плиты.
Плита единичной ширины, выделенная из сплошного фундамента вместе с основанием, по классификации теории упругости рассматривается как плоская задача приплоской деформации. В отличие от расчетной схемы балок, лежащих на линейно деформируемом полупространстве (см. рис. 12.12) в данном случае в расчетной схеме принимают во внимание деформирование ограниченной толщины основания размером обычно не более полудлины рассчитываемой полосы.
Основная система, последовательность решения и формулы, приведенные для балок на упругом полупространстве, в принципе сохраняются.

infopedia.su
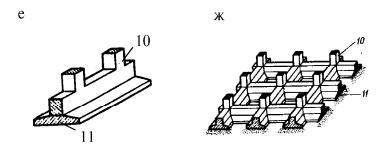
Ленточные фундаменты под колонны (рис.е) выполняются из монолитного железобетона с армированием подошвы и стен фундамента. Устраивается для уменьшения неравномерностей осадки отдельных колонн Если ленты делаются в двух взаимноперпендикулярных направлениях, то фундамент называется фундаментом из перекрестных лент (рис.ж). Данный тип фундаментов имеет ряд преимуществ перед обычными ленточными, так как обладает способностью к выравниванию неравномерных деформаций основания(выравнивает осадку не отдельной колонны, а здания в целом)
Если глубина подвала превышает 3 м, то под действием активного давления грунта возможно смещение фундаментных стеновых блоков по направлению в подвал. Поэтому для повышения устойчивости стен подвала в горизонтальные швы между блоками вводятся плоские сетки из арматуры диаметром 8-10 мм.

10-колонна, 11-жб лента
11. Возведение заглубленных и подземных сооружений методом «стена в грунте». Технология устройства. Монолитный и сборный варианты.
Способ предназначен для устройства фундаментов заглубленных в грунт сооружений. По контуру сооружения отрывается узкая глубокая траншея, которая заполняется бетонной смесью или сборными железобетонными элементами. Стена в грунте применяется для устройства фундаментов тяжелых зданий, подземных этажей, гаражей, переходов, водопроводноканализационных сооружений, противо- фильтрационных сооружений и др.
Эти конструкции особенно эффективны в грунтах с высоким стоянием уровня грунтовых вод, а также при возведении в условиях плотной городской застройки. Стена в грунте отделяет массив, находящийся непосредственно под зданием или сооружением, от окружающего пространства, что позволяет увеличить несущую способность основания и уменьшить осадки, более эффективно использовать подземное городское пространство. 
Технология. Можно подразделить на следующие этапы устройство стены в грунте. По контуру сооружения отрывается форшахта для землеройных машин, ширина которой немного больше ширины траншеи, глубина до 0,8 м; при высоком стоянии грунтовых вод для установки машин делается песчаная подсыпка; откапывается на полную глубину узкая траншея для сооружения секций стены захватками до 30550 м каждая; по ее торцам устанавливаются ограничители, после чего в траншею закладывается арматура, и она заполняется бетоном. Возможно также изготовление стены в грунте из сборных элементов. Для того чтобы стенки траншеи не обваливались, в особенности при высоком стоянии грунтовой воды, ее заполняют глинистым раствором из бентонитовой глины, уровень которого должен быть выше уровня грунтовой воды. Выемка грунта осуществляется грейфером двухчелюстного типа или многоковшовым экскаватором типа фрезы. Такими механизмами отрываются траншеи глубиной до 8 м. Зазоры между сборными элементами заполняются цементным раствором для придания стене монолитности. После возведения стены в грунте и твердения бетона из внутреннего замкнутого пространства удаляют грунт и выполняют днище сооружения. 360 Рис.
Устойчивость стены. Если заделка в основании для устойчивости и обеспечения прочности стены оказывается недостаточной, то предусматриваются распорные или анкерные крепления. Распорные крепления применяются, если расстояние между параллельными стенами менее 15 м. Анкерные крепления предпочтительнее, причем инъекционного типа в одном или, при необходимости, в двух уровнях.
cyberpedia.su
Метод общих упругих деформаций основан на гипотезе упругого полупространства, согласно которой основание работает как сплошная однородная упругая среда, ограниченная сверху плоскостью и бесконечно простирающаяся в стороны и вниз. Деформативные свойства упругой среды характеризуются величиной модуля деформации грунта Egr, который, в отличие от коэффициента постели ks, не зависит от величины нагрузки под подошвой фундамента, а также величиной коэффициента Пуассона грунта μgr. При нагружении такого упругого основания деформации грунта возникают не только в месте приложения нагрузки, но и за её пределами, что и происходит под реальными фундаментами. Метод общих упругих деформаций даёт достоверные результаты для среднесжимаемых грунтов с Egr = 20…40 МПа и малосжимаемых грунтов с Egr > 40 МПа в основании, а также при большой суммарной мощности сжимаемых слоёв.
Существует несколько подходов к решению задач с ленточными фундаментами под колонны по методу общих упругих деформаций. Одним из таких подходов является предложенный в 1962 году метод Жемочкина-Синицина (рис. 32). Согласно этому методу непрерывную связь балки с основанием заменяют системой сосредоточенных и абсолютно жёстких стерженьков с их шарнирным соединением с ленточным фундаментом и грунтовым основанием (рис. 32, б). Такие стержни расположены с некоторым шагом Δl , что превращает расчётную схему ленточного фундамента в статически неопределимую систему. В пределах каждого участка Δl реакцию грунта qj осредняют и усилия в стержнях zj принимают равными соответствующим равнодействующим давления, теперь уже равномерно распределённого по площади подошвы фундамента, соответствующей каждому стержню (рис. 32, в, г):
.
Практика проектирования показывает, что необходимая точность расчёта достигается, когда число участков m состоит из 12…16. В этом случае размер каждого элементарного участка принимают в пределах: 0,5∙bf ≤ Δl ≤ 2∙bf.
Основную систему получают по смешанному методу расчёта статически неопределимых систем, а именно: балку отделяют от основания, заменяя при этом действие стержней действием неизвестных сил z1 , z2 , … zj , … zm и вводя условную заделку в конце балки (рис. 32, в). Поэтому неизвестными будут не только указанные силы zj (j = 1…m), но и осадка заделки y0 (положительное направление — вниз) и угол её поворота α0 (положительный — против хода часовой стрелки).
Значения неизвестных находят из решения системы m уравнений совместности деформаций и двух уравнений равновесия:
![]() | — уравнения совместности деформаций, |
| — уравнения равновесия, |
где 
4 Рис. 32. К расчёту ленточного фундамента под ряды колонн по методу общих упругих деформаций: а – схема расположения внешних нагрузок, б – расчётная схема фундаментной ленты, в – основная система смешанного метода расчёта, г – эпюры реактивных давлений грунта, д – перемещение ленты и осадка основания от единичных сил, е – то же, но от осадки и угла поворота условной заделки, ж – эпюры изгибающих моментов от единичных сил и внешних нагрузок

δkj — единичное перемещение по направлению искомых неизвестных (перемещение точки k от действия единичной силы, приложенной в точке j). В основной системе оно складывается из двух составляющих: перемещения от прогиба балки vkj и осадки основания уkj . Прогиб балки vkj вычисляют по правилам строительной механики. Соответствующие формулы и примеры расположения единичных сил приведены на рис. 32, ж.
Осадку основания уkj определяют на основе решения задачи теории упругости о деформировании упругого полупространства (рис. 32, д):
,
где Fkj — функция осадки поверхности основания в точке k при воздействии единичной силы в точке j. Для определения Fkj в технической литературе приведены соответствующие таблицы (В.Н. Байков, Э.Е. Сигалов. «Железобетонные конструкции. Общий курс»).
Грузовое перемещение Δj от внешней нагрузки также вычисляют по правилам строительной механики от суммарного действия изгибающих моментов и нормальных сил, приложенных к фундаментной ленте. Соответствующие формулы и примеры расположения внешней нагрузки приведены на рис. 32, ж. Знак минус в этих формулах указывает на то, что направление перемещений от внешней нагрузки противоположно направлению перемещения от единичной силы zj.
После определения значений неизвестных сил zj (j = 1…m) вычисляют ординаты эпюры отпора грунта:
.
Эпюра отпора грунта получается ступенчатой, разрывы в ней сглаживают.
Изгибающие моменты и поперечные силы по длине ленточного фундамента определяют от внешней нагрузки Ni, Mi (i = 1…n) и реактивного давления (отпора) грунта
как в консольной балке, вводя условную заделку в заданном сечении и рассматривая все нагрузки, расположенные левее такого сечения. По полученным значениям изгибающих моментов и поперечных сил подбирают продольную и поперечную арматуру ребра ленточного фундамента. С этой целью выполняют расчёты на прочность по нормальным и наклонным сечениям фундаментной ленты как неразрезной многопролётной балки таврового сечения с полкой понизу (рис. 33). Рёбра ленточных фундаментов армируют сварными или вязаными каркасами К-1. Количество плоских сварных каркасов определяется шириной ребра br: при br ≤ 400 мм устанавливают не менее двух каркасов, при 400 < br ≤ 800 — не менее трёх, при br > 800 мм — не менее четырёх. Плоские сварные каркасы объединяют в пространственный каркас, тем самым увеличивая его жёсткость, с помощью корытообразных или плоских с крюками на концах поперечных стержней сеток С-2 (рис. 33 б, в). При армировании рёбер ленточных фундаментов вязаными каркасами хомуты должны быть замкнутыми, диаметром не менее 8 мм, с шагом не более требуемого по расчёту на поперечную силу и не более 15∙ds, где ds — диаметр продольной арматуры. Количество вертикальных ветвей хомутов в поперечном сечении должно быть не менее четырёх при br = 400…800 мм, а при br > 800 мм — не менее шести.
Диаметр продольной рабочей арматуры ребра ленточного фундамента определяют из его расчёта на действие изгибающего момента. Около 70 % её требуемого количества в нижней зоне устанавливают в пределах ширины ребра, а 30 % распределяют по всей ширине подошвы bf вместо конструктивной арматуры сетки С-1 (рис. 33).
Процент армирования поперечного сечения ребра фундаментной ленты верхней и нижней продольной рабочей арматурой должен быть не менее минимально допустимого по конструктивным соображениям, учитывающего возможность неравномерного загружения фундамента в процессе возведения здания и неравномерность осадок основания:
,
.
Ленточные фундаменты под ряды колоннрассчитывают не только в продольном, но и в поперечном направлении. Здесь расчётным является сечение 1-1, которое проводят по грани ребра ленты. Этот расчёт аналогичен расчёту блок-подушки ленточного фундамента под несущие стены. Его производят, выделяя отрезок фундаментной ленты длиной один метр в зоне максимального значения эпюры отпора грунта. Результатом расчёта является подбор поперечной арматуры сетки С-1.

Рис. 33. Армирование ленточного фундамента под ряды колонн: а – продольный разрез, б – поперечный разрез, в – корытообразные и плоские каркасы и сетки
Для ленточных фундаментов в качестве рабочей используют арматуру класса А400 (A-III), а в качестве конструктивной — А240 (A-I). Бетон принимают класса В15 и выше. Под фундаментом устраивают бетонную или песчано-гравийную подготовку. После подбора армирования фундамента выполняют расчёты ленты на продавливание от низа монолитной колонны, подколонника или дна стакана сборной колонны, а также расчёты по образованию и раскрытию трещин.
ЛЕКЦИЯ 11
poznayka.org