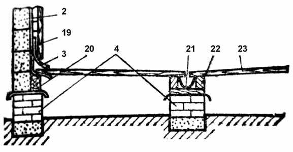
Решение вопроса о том, как сделать пол в каркасной бане, зависит от того, как планируется эксплуатировать это сооружение. Владельцы земельных наделов строят баньку в расчете на сезонное или круглогодичное использование. Исходя из этого, пол делается капитальным сплошным или легким, рассчитанным на пропускание воды наружу. Капитальное строительство предполагает создание утепления и надежной гидроизоляции. Только так можно создать комфортный микроклимат в парной, душевой и раздевалке тогда, когда за стенами царит лютый мороз. Рассмотрим, как утеплить пол в бане, стена которой возведена из щитов, закрепленных на деревянном или стальном каркасе. Независимо от того, какое выбрано устройство полов в каркасной бане, нужно приобрести качественное оборудование и материалы. Даже сезонное сооружение на сваях должно отличаться прочностью, надежностью и долговечностью. Выбор технологии создания пола для сауны определяется климатическими условиями местности, где проводится строительство, и типом грунта. В южных районах, где зимой температура не опускается ниже нуля, достаточно простого дощатого настила. В условиях суровой зимы необходимо решить вопрос, как утеплить полы в бане более основательно. Для того чтобы обустроить утепленные полы в каркасной бане своими руками, потребуется: Как правило, такой набор есть в мастерской каждой дачи и частного дома. Дорогостоящее оборудование можно взять в аренду – это намного выгоднее, чем делать одноразовую покупку. Что касается материалов, то потребуется следующее: Материалы нужно приобретать с запасом до 10 % из расчета на брак в процессе работы, порчу при хранении и транспортировке. Строительство сауны с теплым полом проводится тогда, когда она эксплуатируется круглый год. Как правило, основой этого строения является свайный фундамент. Такая конструкция изолирует баню от холода, который идет от промерзшего грунта, позволяет предотвратить разрушение каркасных стен и деревянного пола от плесени и грибка. Монолитный бетонный пол делается только на неустойчивом песчаном или болотистом грунте. Такое решение принимается редко, так как капитальное основание требует серьезных капиталовложений, хорошо проводит холод и сырость. Оптимальным выбором является строительство многослойного пола из дерева, изоляторов и утеплителей. Выполняется этот процесс на заранее сделанном фундаменте, который набрал достаточную прочность, выстояв в покое положенное время. Теплый пол делается в такой последовательности: Заключительным этапом обустройства пола в бане является его финишная отделка. Поверх стяжки укладывается доска, кафель или линолеум. Решая, как утеплить сауну, не следует забывать о системе теплого пола. Для отдельно стоящего строения лучше использовать электрические конструкции в виде матов или инфракрасной пленки. Выбор зависит от типа финишного покрытия. Это простой, быстрый и недорогой вариант обустройства каркасной бани. Но, эксплуатация такой конструкции возможна только в теплое время года, так как нет преграды между внутренним пространством бани и улицей. Если пользоваться такой баней зимой, то потребуется масса усилий, чтобы поддерживать в ней тепло. Сначала делается первый уровень. Он представляет собой щиты из досок, обитых полиэтиленовой пленкой или рубероидом. Щиты монтируются под наклоном, чтобы отводить стекающую сверху воду. Для стоков устанавливается дренажный колодец с твердыми стенками. Верхний уровень состоит из досок толщиной 40-50 мм, между которыми оставлены щели шириной до 10 мм. Перед укладкой доски хорошо просушиваются, обрабатываются антисептиком и пропитываются специальным составом, предохраняющим их от намокания. В зимнее время на такой пол можно укладывать временные утепленные щиты. okarkasnih.ru Главными требованиями к полу в бане являются хорошее теплосбережение, противостояние гнили, не впитывание влаги, обеспечение комфорта босым ногам. Такую конструкцию несложно организовать в срубе. Однако современное производство не стоит на месте, и сегодня парная может быть возведена по различным технологиям, например, по каркасной. Чем же отличается пол в такой бане, как его правильно соорудить и утеплить? В большинстве случаев в каркасной бане обустраивают пол из древесины. Его основными составляющими являются доски и лаги. Перед началом работы необходимо правильно рассчитать размеры каждой детали. Но так как, задача эта достаточна сложная, то в частном строительстве разрешено использование средних универсальных значений, не забывая добавлять 10-15% на запас. Для создания чистового пола в каркасной парной рекомендуется брать доски толщиной 3-4 см, брус 10×15 см. Лаги чернового пола выполняют из досок, толщина (в мм) которых должна быть пропорциональна промежутку между лагами (в см). Например, если последний равен 50 см, то рекомендованная толщина досок – 40-50 мм. При выборе древесины лучше использовать прочные лиственные или хвойные породы. Материал должен быть тщательно высушен, не иметь трещин, разрывов и других внешних недочетов. Доски рекомендуется выбирать из одного распила, так как это обеспечит одинаковое «поведение» материала после монтажа. В большинстве случаев, мероприятия ведутся, основываясь на технологию организации пола по грунту, но с небольшими изменениями. Лаги закрепляют на опорных каркасных стойках или на заранее установленных опорных деталях. В первом случае, монтаж осуществляется на закладном брусе и каркасных стойках. Работы начинают после обработки основания расплавленным битумом, а также пропитки лаг антисептическим раствором. Последние выполняют из досок 5×20 см. Между стенами бани и лагами должен быть выдержан промежуток 2-3 мм для компенсации деформации древесины. Доски монтируют перпендикулярно лагам: Закрепление досок выполняется максимально плотно при организации непроливного пола и с небольшими зазорами – при создании проливного. Обустройство чистового пола позволяет выполнить гидроизоляцию и обеспечить равномерное распределение нагрузок. Монтажные работы включают несколько этапов: При обустройстве непротекающего пола в каркасной бане необходимо помнить о таком важном нюансе, как уклоне в сторону сливного отверстия. Стандартно, он должен выдерживаться в пределах 1-2 см на каждый метр полотна. Для обеспечения уклона используют П-образные кронштейны и регулируемые шпильки. Между стенами и крайними брусьями оставляют 4-5 см, между соседними лагами – 40-60 см. Лаги фиксируют в кронштейнах с соблюдением необходимого уклона. Кронштейны устанавливают через промежуток в 50 см. Закончив монтаж деревянного пола в каркасной бане, рекомендуется обработать его двумя слоями олифы. При этом не стоит забывать, что качественная конструкция должна соответствовать всем технологическим нормам, обеспечивать сток воды, сохранять в помещении тепло, быть комфортной и удобной. stroy-good.ru Каркасное строительство стремительно набирает все большую популярность среди частных застройщиков. О преимуществах данной технологии можно рассуждать практически до бесконечности. Краткое резюме следующее: при прочих равных условиях каркасные постройки более простые и финансово выгодные в возведении по сравнению с кирпичными и большинством блочных строений, при этом в отношении качества, надежности, удобства эксплуатации, безопасности и долговечности к ним никаких претензий. Как сделать пол в каркасной бане В особенности хорошо рассматриваемая технология зарекомендовала себя в строительстве бань. Интересный факт о каркасном строительстве Преимущества каркасного строительства Одним из важнейших этапов обустройства каркасной бани является сооружение пола. С информацией о заливке бетонной конструкции вы уже успели ознакомиться в соответствующей публикации нашего сайта (там же можно получить сведения о монтаже слива), поэтому сегодня все внимание будет уделено деревянным полам – наличие таковых в каркасной постройке позволит обеспечить максимальную сохранность атмосферы экологичности и натуральности. Строим пол в каркасной бане Главными составляющими конструкции деревянного пола являются лаги и доски. Задача следующая: выбрать оптимальные размеры упомянутых элементов и лучший материал изготовления. На фото лаги чернового пола Для максимально правильного определения размеров лаг и досок профессионалы выполняют довольно объемные расчеты. Мы этого делать не будем – в условиях частного строительства допускается использовать усредненные универсальные значения. Используйте доски толщиной 3-4 см, лаги чистового пола делайте из бруса 10х15 см. Расчет пиломатериала Рекомендации в отношении толщины досок для изготовления лаг чернового пола следующее: толщина доски в миллиметрах должна примерно соответствовать шагу между лагами в сантиметрах. К примеру: лаги устанавливаются с шагом 50 см, следовательно, толщина досок должна быть выдержана минимум в пределах 40-50 мм. В случае обустройства теплоизоляционной прослойки, расстояние между лагами чистового настила обычно корректируется в соответствии с габаритами утеплителя в среднем в сторону 50-60-сантиметрового значения. При этом и без обустройства теплоизоляционного слоя шаг установки лаг чистового пола рекомендуется выдерживать в пределах 50-60 см. Принцип укладки утеплителя между лаг В остальном при выборе размеров исходных материалов и расстояния между лагами можете ориентироваться на рекомендации из следующих таблиц. Таблица — рекомендуемое сечение досок пола, лаг и расстояние между последними Правильно подойдите к вопросу выбора материалов изготовления лаг и досок. Подойдут любые долговечные хвойные и лиственные породы, за исключением разве что тополя и другой мягкой древесины. Примеры обрезных досок Материал должен быть сухим. В противном случае смонтированные элементы по мере высыхания существенно деформируются. Поверхность материалов не должна иметь трещин, сколов и прочих внешних дефектов. Лучше, чтобы доски были из одной партии – это гарантирует, что материал заготавливался в одинаковых условиях, следовательно, после монтажа он также будет вести себя одинаково и внешний вид отделки не будет различаться. Полезный совет! Для чистового настила используйте обрезные или шпунтованные доски – их не нужно дополнительно шлифовать. Черновой настил можно делать из необрезной доски. Зная размеры помещений и рекомендованный шаг между элементами конструкции пола, вы сможете рассчитать требуемое количество материалов. К расчетным значениям всегда добавляйте 10-15% на запас. Как правило, работа ведется в соответствии с технологией обустройства пола по грунту. Разумеется, прямо на грунт ничего не укладывается – лаги крепятся либо к опорным стойкам каркаса, либо укладываются на предварительно возведенные опорные столбы. Лаги чернового настила Готовая система будет иметь примерно следующий вид. Пример укладки лаг Здесь выполнена гидроизоляция основания расплавленным битумом. Лаги прикреплены к опорным стойкам каркаса и закладному брусу. Важно! Перед монтажом лаг пропитайте их антисептическим средством. Для изготовления лаг решено использовать доску 50х200 мм. Действуйте в нижеприведенной последовательности. Шаг первый. Крепление крайних лаг. Для фиксации используются саморезы в количестве 8 штук на каждый край доски. Правильная схема фиксации продемонстрирована на изображении. Здесь видно количество вкрученных саморезов Подойдут оцинкованные саморезы. Длину крепежей подбирайте так, чтобы они заглублялись в материал на 5-6 см. Саморезы по дереву Зафиксируйте крайние лаги и приступайте к дальнейшей работе. Проконтролируйте, чтобы лаги были выставлены по уровню. Для удобства можете вбить в стойки над крайними лагами гвозди, натянуть между ними веревку и по ней ориентироваться при монтаже следующих элементов. Шаг второй. Монтаж промежуточных лаг. Используется тот же материал. Крепление лаг к нижнему венцу выполняется с помощью металлических уголков. Предварительно просверлите в них отверстия для крепежных болтов. Рекомендованное количество крепежей следующее: 6 штук в полке, примыкающей к закладному брусу, 5 штук в полке, примыкающей к стойке каркаса. Крепление лаг уголками Стяните промежуточные лаги с брусом нижнего венца и опорами каркаса через уголки. Важно! Между лагами и стенами постройки выдерживайте 20-30-миллиметровый зазор для компенсирования деформаций древесины. Лаги чернового пола смонтированы. Этот способ рекомендуется применять в случаях, когда длина укладываемых лаг превышает 2 м. Система, обустроенная в соответствии с данным методом, будет максимально надежной и устойчивой к поступающим нагрузкам. Для опор подготавливаются ямы. Длину стороны каждой ямы подбираем так, чтобы на готовой бетонной площадке в дальнейшем смогли разместиться кирпичи при укладке в соответствии с указанной схемой перевязки. По периметру опоры, при этом, должно оставаться минимум 50 мм свободного основания, как показано на изображении в шаге 1. Если последующая укладка кирпичей не предусмотрена, принимаем сторону опоры равной 40-50 см. Первый шаг. Планирование Лаги будут крепиться к опорным стульям. Их можно сделать из бетона. Состав конструкции с указанием оптимальных габаритных характеристик приведен на изображении. Схема установки опорного стула Опоры заливаются с метровым шагом. Можно увеличивать до 1,5 м. Главное, чтобы опоры были равномерно распределены по площади будущего пола. Рекомендованное сечение бруса для лаг при таком шаге – 10х15 см. Указанное значение можно увеличивать в зависимости от предполагаемого уровня нагрузок. Второй шаг. Подготовка углублений для опор Подготовка углублений для опор Сделайте следующее: Углубление для опоры Опалубка — фото и схема Армирование и заливка опоры Полезный совет! Выровняйте заливку по уровню – избавите себя от необходимости выравнивания лаг в будущем. Важное замечание! Если строение стоит на ленточном фундаменте, верхушки опор должны располагаться на едином уровне с верхним торцом ленты. Если основание столбчатое, опоры возводятся до уровня верхней грани закладного бруса. Третий шаг. Гидроизоляция опор Гидроизоляция опор — схема Далее события могут развиваться двумя путями. Первый вариант таков. Опорные столбики засыпаны керамзитом Здесь застройщик засыпал пространство подполья керамзитом до верхних граней опор и уложил на них лаги. Керамзит возьмет на себя функции теплоизоляции. Но чаще прибегают к такому способу. Кирпичные опоры для лаг — фото и схема На фото видна схема кладки кирпичей с правильной перевязкой швов. Рекомендации в отношении высоты опоры приводились ранее. Для кладки используется стандартный раствор из доли 400-го цемента, порядка 3 долей песка и воды в объеме, требуемом для получения смеси нормальной рабочей густоты. Толщину швов выдерживайте в пределах до 5 мм. Раствор наносите с помощью кельмы. Каждый кирпич выверяйте по уровню, пристукивая элемент кладки деревянным молотком либо ручкой кельмы. Схема гидроизоляции кирпичных столбиков Гидроизоляция в данном случае укладывается не на бетонные опоры, а поверх кирпичной кладки. Лаги крепятся точно так же, как и в предыдущем случае, т.е. к вертикальным стойкам каркаса и закладному брусу. Необходимость фиксации лаг к опорным столбам отсутствует. Лаги на опорных столбиках Укладка чернового настила Доски укладываются перпендикулярно по отношению к лагам. Между настилом и стенами помещения выдерживается 20-миллиметровый компенсационный зазор. Последовательность укладки досок настила приведена в таблице. Таблица. Укладка дощатого пола Укладка первой доски Важно! Если длины одной доски недостаточно для перекрытия пола, второй элемент настила отпилите и уложите таким образом, чтобы он стыковался с первым строго на лаге. Укладка второй доски Уплотнение досок Укладка последней доски Для распила используйте дисковую пилу или другой подходящий инструмент. Рекомендации в отношении крепления доски остаются аналогичными. При обустройстве проливного пола, как отмечалось, доски укладываются с зазором в несколько миллиметров. Проливной пол Полезный совет! По возможности старайтесь даже для чернового настила использовать качественные ровные доски – избавите себя от хлопот с выравниванием лаг чистового настила в будущем. При наличии видимых выступов на поверхности настила, зашлифуйте их. Пример шлифовки деревянного пола Обустройство второго (чистового) яруса пола позволяет, во-первых, выполнить гидротеплоизоляционные работы, во-вторых, обеспечить привлекательный внешний вид поверхности, в-третьих, добиться равномерного распределения нагрузок на пол. Стандартная схема устройства чистового настила выглядит следующим образом. Стандартная схема устройства чистового настила Схема укладки досок пола Казалось бы, остается лишь набить плинтус по периметру помещения, чтобы спрятать зазоры между настилом и стенами. Плинтус Но не спешим заканчивать, мы не учли один очень важный нюанс. В соответствии с технологией обустройства непротекающего банного пола, чистовой настил должен монтироваться с уклоном в направлении сливного отверстия. Пол в бане должен иметь уклон в сторону слива Если бы пол был протекающим, все изыски ограничились бы обустройством в подполье дренажной ямы для сбора стоков и укладке в нее трубы для отведения накопленной жидкости в запланированное место. С полноценной двухслойной утепленной конструкцией пола все несколько сложнее. Стандартно уклон выдерживается в пределах 1-2 см на каждый метр поверхности. Как его обеспечить? Стесывать лаги? Изначально укладывать с уклоном черновой настил? Состругивать доски чистового настила? Слишком долго и трудоемко, да и абсолютно надежными такие методы укладки не назовешь. Как же решить поставленную задачу? Ранее для этого широко использовался такой метод. Лаги на подпорках Технология предполагает крепление лаг к предварительно склеенным/стянутым подпоркам из кусков фанеры/бруса либо попросту кускам бруса, высота которых меняется в направлении слива. Некоторые застройщики активно используют данный метод и в настоящее время, но он является, во-первых, устаревшим, во-вторых, трудоемким, в-третьих, сравнительно не точным, в-четвертых, не самым надежным, т.к. добиться максимальной жесткости основания при подобном варианте сооружения конструкции невозможно. Мы предлагаем использовать более современные, простые и качественные технологии, предполагающие применение П-образных кронштейнов или регулируемых шпилек. Между крайними брусьями и стенами выдерживается 4-5-сантиметровое расстояние, между соседними лагами – 40-60-сантиметровое. Длину лаг подгоните так, чтобы их края не доходили до банных стен на 2 см. Важное примечание! На последующих иллюстрациях может присутствовать бетонный пол. В случае с полом каркасной бани все делается аналогично, но крепление осуществляется к черновому настилу. Таблица. Монтаж лаг на П-кронштейны Подбираем кронштейн Крепежные уголки Подготовка отверстий для крепежей кронштейнов Между кронштейнами, размещаемыми вдоль одной лаги, выдерживается 50-сантиметровый шаг. Для обеспечения устойчивости поперечной перемычки достаточно использовать один центральный кронштейн. Фиксация кронштейнов Первыми устанавливаются кронштейны для бруса, размещаемого вдоль стен. Первичная фиксация лаг Крепление бруса с другой стороны Нюансы крепления маяка со стороны стены — в кронштейне через брус просверливаются 6,5-миллиметровые отверстия в количестве 2 штук; — в отверстиях размещаются болты М6; — на выступающие концы болтов накручиваются гайки. В этом вам поможет обыкновенный гаечный ключ. Установка остальных маяков Установка перемычек — сначала на черновом полу в месте прохождения перемычки крепится кронштейн; — брус вставляется в кронштейн и, соблюдая уклон, прикрепляется к лагам уголками и саморезами; — перемычка фиксируется в кронштейне. На этом установка лаг для чистового настила завершена. Дальнейший порядок действий определяется особенностями технологии, выбранной застройщиком. Как правило, сначала в свободное пространство каркаса укладывается утеплитель, после чего сверху к маякам саморезами крепится половая доска. banya-top.ru Тема сегодняшнего поста — изготовление пола для каркасной бани из бруса. Как правило, всего возможны два основных варианта изготовления пола для бани - это бетонный пол или деревянный пол. Деревянный пол может быть протекающим (с щелями) или не протекающим (плотный без щелей). Рис.1. Бетонный пол для каркасной бани из бруса. Секреты конструирования пола. Рис.2. Деревянный протекающий пол для каркасной бани из бруса. Секреты конструирования пола. Рис.3. Деревянный непротекающий пол для каркасной бани из бруса. Секреты конструирования пола 1— внутренняя обшивка каркасной стены, 2 — пароизоляция стены, 3 — гидроизоляция, 4 — фундамент, 5 — керемзит или щебень, 6 — бетон с теплоизолирующим наполнителем, 7 — выравнивающая цементная стяжка, 8 — керамическая плитка, 9 — водосливная труба, 10 — деревянная решетка, 11 — водосточная решетка, 12— щит гидрозатвора, 13 — приямок, 14 — бревенчатая стена, 15 — плинтусная доска, 16 — поглощающая яма, 17 — пол протекающий, 18 — трубы, 19 — внутренняя обшивка стены, 20 — лаги, 21 — лоток, 22 — лаги, образующие желоб, 23 — пол непротекающий (без щелей и зазоров), 24 — глина (Рис.1- рис.3. из книги: Сафин В.А., «Строим баню»: Справ. пособие. -М.: Стройиздат,1990,с. 97) Деревянный протекающий пол для каркасной бани из бруса Если вы не планируете мыться в бане зимой и поздней осенью (при минусовых температурах), то самым бюджетным вариантом является использование во всех помещениях деревянного протекающего пола. В то же время, те, кто используют баню в холодный период, при использовании деревянного протекающего пола сталкиваются со следующей проблемой. После строительства бани в процессе ее эксплуатации выявляется эффект перепада температур. Например, Вы начинаете замечать, что в вашей бане из бруса на полке жарко, а на полу сквозит и ноги мерзнут. Естественно, это классический случай конструкции деревянного протекающего пола без бетонирования, когда вода попадает под баней на землю и тут же замерзает. В период поздней осени и зимы это становится особой проблемой, так как под баней образуется слой ледяного грунта (ледяная прослойка), отнимающий большую часть тепла у вашей бани и морозящий Вам ноги. Бетонный пол для каркасной бани из бруса. Смешанная конструкция пола. Таким образом, если Вы планируете эксплуатацию каркасной бани в период поздней осени и зимы, то целесообразнее в парной и моечной использовать цементный пол или смешанную конструкцию. В парной и моечной делают бетонные полы с деревянным настилом. На бетонный пол могут быть постелены деревянные, легко поднимающиеся решетки, или настелен отдельный протекающий деревянный пол (см рис.4.). Рис.4. Бетонный пол для каркасной бани из бруса. Секреты съемного деревянного пола Решетки и съемные деревянные полы после мытья поднимают, просушивают и обрабатывают антисептическими средствами, что позволяет эксплуатировать такой пол значительно дольше. Дренажная система и канализация в каркасной бане из бруса Перед заливкой и укладкой пола в моечной необходимо подготовить фундамент для печки и дренажную систему для отвода воды. В песчаном грунте можно ограничиться поглощающей ямой под моечной (шириной 50-60 см, глубиной 50-70 см). Яму заполняют гравием, керамзитом или битым кирпичом. По остальной площади парной и моечной полы делают уплотненным и, покрывая щебнем, выкладывают щебнем под уклоном, так, чтобы вода стекала в яму. При глинистой почве и черноземе под каркасной баней из бруса под уклоном вкапывают трубу, выводящую воду в яму, вырытую снаружи бани. Стенки приямника для трубы бетонируют или укрепляют кусками шифера. Приямник составляет в окружности не более 40 см. Размеры приямника (длина, ширина, глубина) около 30 см. Канализационную яму снаружи каркасной бани из бруса можно соорудить из бочки без дна с засыпкой гравия внизу. Трубу, отводящую воду из каркасной бани из бруса, необходимо сделать с щитом гидрозатвора (см. рис.1) или не прямой (иначе в баню будут проникать канализационные запахи), а изогнутой по принципу сифона, используемого на раковинах и унитазах (см. рис 4). Бетонный пол бани делают на подушке из щебеня (лучше керамзита) и песка. Толщина укладки – 5-15 см. Керамзит позволяет существенно повысить теплоизоляцию пола. Поверхность уплотняют с уклоном в сторону приямка и заливают жидким бетоном. После высыхания бетона поверхность выравнивают цементным раствором. Если используется съемный пол или подъемные решетки, то целесообразно выложить бетонный пол плиткой (мыть и обрабатывать существенно удобнее). Деревянный непротекающий пол для каркасной бани из бруса Деревянный пол иногда делают без щелей — непротекающим. В этом варианте доски укладывают под уклоном для вывода воды в водосток. Такой пол гниет, обычно, быстрее. Пол не красят и не покрывают лаком. Вентиляция пола в каркасной бане из бруса Для длительной эксплуатации деревянного пола бани необходимо каждый раз после мытья обеспечивать его вентиляцию и просушку. Таким образом, к вопросу вентиляции пола еще на стадии строительства необходимо подойти грамотно и ответственно, например, предусмотреть вентиляцию с забором воздуха из — под пола (см. рис.5.) Подробнее вопросы вентиляции пола в бане описаны здесь: Вентиляция в каркасной бане из бруса. Рис.5. Схема вентиляции каркасной бани из бруса с забором воздуха из под пола. Секреты вентиляции каркасной бани из бруса (Рис.5 из книги: Сафин В.А., «Строим баню»: Справ. пособие. -М.: Стройиздат,1990,с. 105) Советуем к прочтению: Строим каркасную баню. Секреты строительства бани от Саныча. Строим фундамент каркасной бани из бруса. Секреты теплоизоляции и пароизоляции потолка в бане от Саныча. Секреты от Саныча. Строим своими руками односкатные и двускатные крыши для бани из бруса. Теплоизоляция и гидроизоляция крыши бани. Бюджетная и экономная печь для каркасной бани из бруса. Секреты от Саныча. Двери для каркасной бани из бруса своими руками. Секреты от Саныча. Окна для каркасной бани из бруса своими руками. Секреты от Саныча. Укладка пола для каркасной бани из бруса своими руками. Вентиляция с забором воздуха из под пола. Секреты от Саныча. Вентиляция в каркасной бане из бруса. Бюджетная и экономная каркасная баня из бруса на двух человек. Печь для бани своими руками. Секреты от Саныча. Легкого Вам пара, Удачи вам, Ваш Саныч stroimnavek.ru В давние времена бани служили, в первую очередь, для принятия водных процедур и оздоровления, на чердаке банного домика летом сушили лечебные травы и ягоды, комната отдыха использовалась для временного проживания. С учетом всех этих моментов определялись габариты сооружения — в нем должно хватать места для того, чтобы комфортно помыться, попариться и отдохнуть, выполнить простые хозяйственные работы. Перед тем, как приступать к строительству следует определиться с общей площадью банного домика, подробно распланировать размеры каждого помещения в нем, определить удобное расположение комнат. На достаточно большом участке оптимальной по размерам будет каркасная баня 6 на 6 м, такие габариты позволят выделить место для просторной парилки, моечной и комнаты отдыха. Важным вопросом, требующим обсуждения всей семьей будет выбор варианта отделки внутри помещения и снаружи, и, собственно решение вопроса о том, из чего будет сооружаться банный домик. Если раньше бани строились из натуральной древесины в сруб, то сегодня вполне приемлемым вариантом окажется сооружение каркасной бани — более дешевой по стоимости, но не менее практичной и надежной. Если на участке много места, то выбрать подходящее для сооружения бани будет совсем не сложно. Потребуется всего-лишь: Будет лучше, если банный домик будет скрыт от посторонних, можно расположить его в глубине участка, или хотя-бы подальше от забора. Обычно под строительство используют место, непригодное для высадки сада или разбивки грядок, желательно, на возвышенности. Если на участке есть искусственный водоем, то баню можно разместить поблизости от него. На маленьких участках вопрос с выбором места может оказаться более трудным, возможно банный домик удобнее соорудить в виде пристройки к уже существующим объектам, возможно придется внести изменения в проект каркасной бани и несколько уменьшить размеры помещений или совместить их, исходя из функционального назначения. В зависимости от того, на каком грунте будет стоять банный домик потребуется определиться с типом фундамента. Поскольку строение не будет отличаться особой тяжестью, то фундамент для него может быть заложен столбчатый, блочный или ленточный. Чаще всего для каркасных строений прибегают к установке столбчатого фундамента, как самого экономичного, удобного, простого в сооружении. Такой фундамент несложно реставрировать в случае необходимости, кроме того, он не подвержен воздействию влаги, вспучивающегося или промерзающего зимой грунта. Интересным вариантом может быть использование валунов в качестве опор, т.н. бутованный фундамент. Сооружать его можно на плотных глинистых грунтах. Принцип создания бутованного фундамента заключается в установке опор по углам сооружения, затем — установкой промежуточных опор из больших валунов. Их устанавливают в выкопанные лунки так, чтобы основание будущей постройки было строго горизонтальным. Перепад в высоте камней не должен превышать 5 см. Такую незначительную разницу можно будет компенсировать при сооружении обвязки нижней части каркаса. Далее все свободное пространство между опорными камнями заполняют более мелкими. Чаще при строительстве бани прибегают к сооружению ленточного фундамента с анкерными выводами — он может придать каркасному сооружению особую прочность. Выполнять армирование такого фундамента на прочных глинистых грунтах не обязательно. Специалисты рекомендуют при заливке ленточного фундамента оборудовать вентиляционные отверстия (не меньше 2-х, диаметром от 8 до 12 см) и технологические — для подключения всевозможных коммуникаций, размером превышающие внешний диаметр подключаемых коммуникаций. Поверх фундамента следует уложить слой гидроизоляции. Оптимальным вариантом для сооружения каркаса бани будет использование готовых рам из стоек, ригелей и обвязок. Рекомендуемое расстояние между стойками — 0,6 м, оно наиболее удобно для укладки теплоизоляционного материала и обшивки. В промежутках над оконными проемами, местах стыков стен и перегородок потребуется установка дополнительных стоек. Эти моменты могут вызвать потребность в изменении шага стоек. Для нижней обвязки используют брус сечением 100х100 мм. Его соединение в углах выполняют в четверть и сбивают гвоздями. Брус такого же сечения используют для сооружения верхней обвязки, чтобы придать каркасу жесткость по углам устанавливают 8 раскосов. Чтобы избежать смещения, угловые стойки и нижнюю обвязку устанавливают на вмурованную в фундамент арматуру. Строительство каркасной бани своими руками обязательно потребует выполнения утепления и обшивки каркаса. Для обшивки внешней стороны стен можно использовать сайдинг или вагонку. Под обшивку следует уложить слой гидроизоляционного материала: Если учесть, что баня будет использоваться для принятия водных и паровых процедур, то важным моментом будет создание условий для максимального сохранения тепла внутри помещения. Поэтому теплосберегающие материалы для монтажа следует выбирать качественные. Это может быть: Укладку таких материалов сможет выполнить даже человек, не имеющий специальной строительной подготовки. Для утепления каркасной бани используют питы утеплителя толщиной 50 мм, их укладывают между стойками, затем крепят рейками, которые приколачивают гвоздями с резиновыми шайбами к наружной обшивке. В качестве гидроизолирующего материала может быть использована полиэтиленовая пленка. После ее крепления можно приступать к монтажу внутренней отделки, в качестве которой может использоваться вагонка, изготовленная из рекомендованных пород дерева или строганная доска из древесины лиственных пород. В результате кропотливой сборки получается стена, состоящая из слоев: Крыша бани ничем не отличается от крыши любого сооружения, она состоит из стропил, укрепленной на них обрешетки и кровельного материала. Стропила могут быть наклонными или висячими, обрешетку, в зависимости от используемого кровельного материала можно делать сплошной или разреженной, в качестве кровельного слоя используются листовые, штучные или рулонные материалы. Для сооружения стропил используют толстые бруски (100х150 мм) или доски (40х150 мм). Для сооружения сплошной обрешетки используют пиломатериалы толщиной 20-30 мм или фанеру 10-15-ти сантиметровой толщины. Зазор между элементами обрешетки может составлять не более 3 см, допускается он в случае монтажа штучной кровли, в остальных — просветы не допускаются. Для разреженной обрешетки применяют рейки сечением 24х40 мм, такой вариант используют только для укладки листовых материалов. Если для кровельных работ будет использоваться асбоцементный шифер, то пиломатериалы берутся с большим сечением — от 30х50 мм, шаг между их укладкой может составлять максимум 0,4 м. При сооружении крыши потребуется предусмотреть место для выхода дымоотводной трубы, его оборудуют специальной металлической юбкой. Для исключение возможности возгорания, оставшиеся между кровлей и стенками дымохода зазоры цементируют. Если в конструкцию крыши включен слой теплоизоляционного материала, то юбок устанавливают две, первую — сверху обрешетки, вторую — по уровню нижнего края стропил, между ними засыпают негорючие материалы — шлак или керамзит, или укладывают стекловату. Для сооружения кровли могут использоваться: Во-первых следует отметить, что перекрытие бани может делаться:под кровлю, т.е односкатное, заключающееся в установке основания из брусьев толщиной в 10х10 мм, соединении каркаса и укладке стропил, обшивке боковых фрагментов и фасадной части каркаса слоем теплоизоляционного материала;под чердак, т.е. балочное, с монтажом каркаса по шпалам, нарожникам или палице, с расстоянии между балками порядка 60 см. Для утепления потолка следует выбирать жаркие летние дни. Если строительство производится в дождливую погоду, то сначала делают крышу, затем — теплоизоляцию. Способов сборки теплоизоляционной системы потолка имеется немало, но подходящим для помещения бани будет такой, который позволит не только сохранить тепло, но будет противостоять воздействию высокой температуры и повышенной влажности. По конструкции банные потолки могут быть подвесными, подшивными или настильными. Монтаж подвесного потолка начинают с набивки бруска сечения 30х40 мм по нижним краям балки или стропил. На него монтируют шпунтованную доску, оставшееся пространство заполняют слоями паро- и гидроизоляции, затем — теплоизоляционным материалом, затем снова укладывают слои паро- и гидроизоляции. Сверху перекрытия монтируют кровельный слой или укладывают ходовую доску, используя шпунтованный материал толщиной от 35 до 50 мм. При обустройстве подшивного потолка шпунтованную доску нашивают по низу балок или стропил. Заполнение полученного пространства выполняют таким же образом, как при сооружении подвесного потолка. Сверху получившегося перекрытия настилают ходовую доску, используя шпунтованный материал толщиной от 30 до 50 мм. Для оборудования бесчердачной кровли можно применить настильный тип потолка, для этого на стропила или балки настилают шпунтованные доски, затем накладывают слой пароизоляции (фольгу в два слоя или техническую полиэтиленовую пленку). Установку воздуховода, чердачного люка и печной трубы выполняют между балками и стропилами, таким образом, чтобы сохранить целостность конструкции. Если такой вариант воплотить не удается, то на месте пересечения потолка с вышеуказанными деталями удаляют лишний брус, между соседствовавшими с ним брусьями крепят ригель из того же пиломатериала при помощи металлической скобы. Концы недостающего фрагмента бруса подводят к срединам ригеля. Планировка каркасной бани также потребует определиться с вариантом полов: будут они заливными или настеленными по лагам или балкам. Главной проблемой в сооружении красивых, теплых деревянных полов будет невозможность обработки древесины лакокрасочными материалами, необработанное дерево рано или поздно начнет гнить под воздействием влаги и высокой температуры. При рассыхании настеленных досок обычно появляются щели, что приводит к возникновению сквозняков — ведь уже упоминалось, что под банный домик должен сооружаться вентилируемый естественным путем фундамент. Заливка пола цементным раствором осуществляется по принципу, аналогичному тому, как сооружаются полы в бассейне — в соответствии с правилами выполнения гидроизоляции и технологий отвода использованных вод. Заливка пола должна обеспечить уклон, позволяющий беспрепятственный сток воды. Естественно, заранее потребуется определить оптимальные места для размещения сливов и подвести к ним трубы нужного диаметра. Для удобства, поверх цементной стяжки укладывают сборно-разборный настил, используя для него нешпунтованную доску. Зазоры между досками могут достигать 1 см — так процесс их просушивания будет проходить активнее, а вероятность развития гнилостных процессов снизится. Количество секций такого разборного пола может быть любым, желательно только, чтобы при укладывании они не перекашивались и их можно было-бы поднять. По мере возможности, после банного дня секции пола желательно выносить на улицу, хорошо просушивать. Перед настилом полов все их деревянные части можно обработать специальными пропитками на масляной основе, предназначенными для помещений парилок. После установки банной печи банный домик будет готовым к эксплуатации — каркасное строительство не требует выжидания времени на усушку сруба и усадку стен. svouimirukami.ru Построить каркасную баню своими руками – проще простого. А если ее еще и грамотно утеплить и изолировать от влаги, можно получить в итоге парную, почти ни в чем не уступающую ни кирпичным архитектурным шедеврам, ни массивным сооружениям из оцилиндрованных бревен. И наша статья подробно расскажет о том, как строится каркасная баня своими руками: видео, фото и пошаговые руководства – все для вас! Заметим, что каркасные бани собственноручно возводятся куда легче, чем кирпичные или брусовые – ни чертежей, ни серьезного фундамента, ни дорогих материалов не нужно. Все настолько просто, что справиться с работой может даже школьник. Главное – знать, как и что делать. В строительном плане каркасная баня имеет ценное преимущество, что, ввиду своей легкости, она не дает усадки, — чего не избежать рубленным парным. А вот минус – во влажности во время снега и дождя, которая способна проникать во все щели и накапливается внутри каркаса. Именно эту проблему и нужно постараться решить заранее. Итак, по каркасной технологии вы можете построить как небольшую парную на парилку и предбанник, так и двухэтажный загородный дом-баню. Все зависит от вашей фантазии и финансовых возможностей! Для небольшой каркасной бани вам понадобится сделать простой ленточный или столбчатый фундамент, закупить сухой брус сечением не меньше 20х20 для стоек и обрезную доску: Для каркасной бани, где будет минимум три помещения, незатейливым фундаментом из бруса уже не обойтись: По желанию, чтобы сэкономить строительные материалы, вы можете сделать предбанник отдельно, как пристроенную веранду, тогда внутри достаточно будет места для парилки и моечной: А вот за рубежом довольно популярно каркасной строительство целых двухэтажных домов. Естественно, и фундамент здесь нужен надежный (об этом – ниже), и материал хороший: Либо сделайте вашу баню более просторной по площади, вместо второго этажа: Чем этот вариант лучше? Дело в том, что каркасные бани – самые пожаронебезопасные. И худший вариант, если во время возгорания вы с друзьями находитесь в бильярдной на втором этаже. Огонь поднимается быстро, и вам попросту придется прыгать в сугроб – на этот раз не из соображений здоровья и экстремизма после разгоряченных процедур. А вот если дело будет летом… Строительство самой простой каркасной бани своими руками обычно не требует предварительного изготовления фундамента ввиду ее легкости. Но, если вы не хотите, чтобы стены стали сыреть, тогда основание делать все-таки придется. Если ваша баня будет от силы 3х4, и стены с крышей планируются легкими, тогда вы можете поставить простой деревянный фундамент, закрепив его кольями по бокам: Такой фундамент особенно хорош для капризных глинистых почв, которые не страдают избыточной влагой, но при этом сезонно подвижны. А вот для строительства на неравномерной и неоднородной почве, где грунтовые воды расположены довольно близко, больше подходит столбчатый фундамент: Чтобы соорудить такой фундамент, вам не понадобится ни техника, ни дополнительная строительная бригада. Достаточно вооружиться буром, асбестовыми или пластиковыми трубами, и уметь замешивать цемент. После чего переходим к таким шагам: Экономично и просто, что и нужно для каркасной бани. А вот как выглядит дальнейшее строительство на таком фундаменте: Для бани средней архитектуры, где будет стоять тяжелая печь и ходить далеко не один человек, хорошо подойдет крепкий фундамент из блоков: Но строить такой фундамент разрешено только на том грунте, где глубина промерзания не превышает одного метра. Без этого вида фундамента не обойтись, если вы строите солидную каркасную баню (или даже баню-дом), а глубина промерзания грунта находится низко. Тогда до более твердого основания придется добираться современными сваями. Это достаточно простая технология, и обычно можно обойтись рабочей силой четырех человек: Если почва на участке пучинистая, то лучше остановить свой выбор на простом ленточном основании. Для того чтобы соорудить такой фундамент, нужно сделать вот что: Посмотрите фото, как это делается: А вот как выглядит строительство небольшой каркасной бани на таком фундаменте: О сборном ленточном фундаменте вам придется задуматься, если вы собрались строить достаточно большую каркасную баню: Суть такого основания в том, чтобы создать максимально надежную опору на любом виде почв, кроме плавающих. Коротко говоря, чтобы сделать полы в каркасной бане, к нижней части их лаг и в комнате отдыха, и в парилке, и в предбаннике нужно прибить бруски с сечением 5х5 см, а на них сверху – настелить доски чернового пола, затем – рубероид, и наконец – минеральные ваты толщиной 10 см либо пенополистирол. А уже под доски чистого пола следует для пароизоляции постелить пергамин: В моечной же пол делать нужно иначе: Более подробно – на видео: Итак, фундамент готов, и мы можем смело переходить к строительству стен каркасной бани. Как вы уже подметили для себя из наших схем, ничего сложного здесь нет. Итак, еще перед тем, как начать строить стены, важно тщательным образом убедиться, что подготовленная древесина – хорошо просушена. А породы она может быть практически любой (кроме как из березы, которая быстро гниет) – липы, лиственницы или осины, теплопроводность у которых низкая, и строение на долгое время сохраняет свою форму. Причем для внешний обшивки лучше всего подходит именно сосна и лиственница, а для внутренней – любая другая порода дерева, наиболее целебной из которых является осина. Снаружи все доски нужно будет по окончанию строительства покрыть антисептиком «Текстурол», а внутри вагонку желательно отшлифовать и покрыть в два слоя мебельным лаком. Кроме мойки и парилки, там целесообразна будет специальная пропитка. Итак, надежней всего сделать нижнюю обвязку из крепкого бруса, например, с сечением 10х10 см, соединив его в углах в четверть и хорошо скрепив гвоздями. Для того же, чтобы нижняя обвязка и установленные угловые стойки не смещались, их нужно ставить на штыри из стали по 2 см, которые вмурованные в бетон. Точно такой же брус можно использовать и для верхней обвязки. А для того, чтобы каркас бани получился достаточно жестким, по углам желательно поставить 8 раскосов. По стенам теперь нужно установить промежуточные стойки из брусьев с тем же сечением – 10х10 см. И можно класть лаги для пола, в качестве которых хорошо подойдут спаренные доски с параметрами сечения 15х5 см, которые можно класть прямо на гидроизоляцию фундамента. Иногда удобнее соорудить и скрепить каркасные стены на земле, а затем их просто поднять: Чем конкретно удобнее? Хотя бы тем, что здесь нет необходимости работать руками выше головы, и они не так затекают. Плюс стены и фундамент можно строить одновременно, если вас работает несколько человек. И уж точно удобнее поднимать готовые каркасные стены, если вы строите двухэтажную баню: Балки перекрытия и стропила каркасной бани сооружать лучше всего из досок сечением 15х5 см, ставя их на ребро и скрепляя между собой. В итоге расстояние между стропилами должно получиться 10х12 см. В вертикальном положении их нужно фиксировать «косынками», а сверху – соединять между собой такого же сечения коньковым брусом. Балки же нужно выпустить наружу на расстоянии 40 см. А саму обрешетку для этого сделать можно из доски толщиной 25 см, укладывая ее прямо от конька. А для скрепления стропильных ферм еще на земле сегодня используют специальные металлические пластины: Согласитесь, ведь проще собирать стропильную конструкцию прямо на земле, после чего поднимая ее наверх и уже устанавливая готовой. Тем более, когда речь идет о каркасной бане. И, наконец, в качестве кровельных покрытий больше всего подойдет мягкая черепица, если баня легкая и на условном фундаменте, и металлочерепица, если речь идет о более серьезной постройке. Если у вас не будет чердака, тогда обязательно утеплите крышу снаружи: А теперь – к самой интересной части строительства каркасной бани. Мы ведь не оставим ее в ОСБ? Конечно, самое время подобрать для нее «шубу». Но покраска краской и штукатурка – не единственные варианты внешней отделки, которую может иметь каркасная баня: отзывы опытных дачников говорят о том, что не важно, настолько простой является ее конструкция – извне ей вполне можно придать дорогой и шикарный вид. А современный строительный рынок предлагает море видов отделки для таких построек, самыми удачными именно для бани из них будут следующие. Декоративная и имитационная вагонка – самое простое и доступное, чем можно обивать снаружи каркасные бани: такие сооружения получаются очень солидными, и их не стыдно показать знакомым и друзьям, приглашая на банный веник и барбекю на природе. Располагать вагонку на внешней стене нужно горизонтально, и положив под обивку предварительно гидроизоляцию из пергамина. Крепите при этом цельные листы внахлест, проклеивая все края скотчем – важно тщательно проделать эту операцию, чтобы в бане не возникала ненужная влага. Традиционная постройка каркасной бани все равно предусматривает обязательное утепление стен, так почему бы это не сделать с помощью термопанелей? По своей сути они представляют собой трехслойную конструкцию с утеплителем – минеральной ватой или пенопластом, заключенными между двумя ПВХ-слоями. Наружная их поверхность обычно выполнена в форме кладки и посыпана спрессованной каменной крошкой. Сами панели при этом имеют взаимные пазы, а потому образуют монолитный рисунок каменной или кирпичной стены. А сделать такую отделку на бане можно самыми обычными саморезами, которые закрепят панели к профилям на фасадах. Кирпичная ровная кладка идеально вписывается в любой ландшафт дачного участка. И очень красиво она всегда смотрится на бане, причем обложить каркасную конструкцию кирпичом и выложить из него ее начисто – абсолютно разные вещи, как по трудозатратам, так и по цене. А еще между облицовочной кирпичной кладкой и деревянными каркасными стенами можно проложить дополнительное утепление, немного изменив традиционный «пирог», но ни в чем не проиграв. Сайдинг – самый легкий и самый популярный материал для обшивки каркасных бань. Стоит он не дорого, а в монтаже удивительно легок. Да и разнообразии цветов, текстур и толщины не может не радовать. Для тех владельцев, кто всю жизнь мечтал об красивой бревенчатой бане, но построил на участке пока только каркасную, есть хорошая новость – с помощью новейшего материала для отделки блок-хауса парную теперь снаружи отличить от настоящего сруба будет невозможно: Приступаем к внутренним работам. Типовое устройство каркасной бани таково, что самое страшное для нее – это скопление влаги в то время, когда внутри конструкции – высокая температура воздуха, а на улице – зима. Вот почему без пароизоляции не обойтись. Самый простой вариант – это полиэтиленовая пленка под внутренней вагонкой. Особенно внимательно нужно подойти к процессу обшивки парилки. Здесь тоже необходима качественная пароизоляция – алюминиевая фольга, пергамин, пароизоляционная пленка и др. Но стоит помнить, что толь и рубероид в этом помещении при нагревании будут источать специфический запах. Так, по совету опытных строителей утеплять стены каркасной бани лучше всего рулонной «Урсой», толщина которой – 50 мм. Закладывать ее следует между вертикальными стойками, прибивая попутно к ним рейки. В некоторых местах утеплитель можно и прибить к наружным доскам, но только специальными гвоздями с резиновой шайбой под головкой. Если все сделать именно так, то получится такой слоеный пирог стен бани: Главное, чтобы внутри стен остался воздушный зазор в 5 см толщиной – это важно. Но особенное внимание необходимо уделить парилке – здесь важен так называемый «эффект термоса». А потому теплоизолятор укладывать лучше фольгой внутрь помещения, причем в потолке нужно использовать не только фольгированную «Урсу», но и еще 5 см обычного утеплителя. А стены и потолок парилки лучше всего отделывать целебной осиновой вагонкой, подойдут и тополиные или шпунтованные липовые доски. И, наконец, технология строительства каркасной бани должна обязательно предусматривать качественную вентиляцию. Для небольшой бани вполне подойдет вытяжная труба из асбоцемента, диаметром 12 см – чтобы в парной не пахло плесенью. Саму трубу достаточно вывести до чердака, и во время банных процедур и горячей топки раскаленный воздух через щель в под дверью будет попадать в мойку, а вытяжной вентиляцией забираться через щели пола и тем самым ногам в этом помещении всегда будет тепло. Главное – проявить фантазию и помнить, что бюджетная баня по каркасной технологии – не значит некрасивая или неуютная. В руках мастеров, как говорится, все спорится! stroy-banya.com Утепление каркасной бани – важная составляющая ремонтно-строительных работ. Это трудоемкий многоэтапный процесс, который состоит из изоляции всех поверхностей. Только правильное, последовательное выполнение работ обеспечит быстрый прогрев и комфорт в помещении. Для утепления каркасной бани своими руками важно учитывать особенности процесса и правильный выбор изоляционных материалов. К последнему действию предъявляются следующие требования: Оптимальным решением для бани может стать базальтовая вата. Она сочетает в себе негорючесть, хорошие прочностные и изолирующие показатели. Для предбанника и зоны отдыха применяется листовой пенополистирол. Эффективность изоляции повышается комбинированием утеплителей. Также возможно использование жидкого пенополиуретана. Толщина утеплителя зависит от его вида и особенностей эксплуатации бани. Если предполагается использование парной только в теплое время года (на даче), для стен достаточно будет изоляции в 5 см. При постоянной эксплуатации толщина слоя может доходить до 10-15 см (в зависимости от климатической зоны). Для потолка этот показатель увеличивается до 20 см. Утеплять баню следует на стадии строительства. Ведь плотная изоляция станет одновременно конструкционным материалом. Специалисты рекомендуют провести антигрибковую и влагозащитную обработку всех деревянных конструкций на этом же этапе. Также необходимо своевременно позаботиться об обустройстве гидро-, паробарьера и надежной вентиляционной системы. Правильно организованная вентиляция обезопасит хороший воздухообмен, что гарантирует комфортный микроклимат, снижение вероятности появления плесневых и гнилостных поражений. В каркасной бане целесообразно создать приточно-вытяжную систему, которая включает: Это обеспечит качественный естественный воздухообмен. Теплоизоляция включает облицовку утеплителем всех горизонтальных и вертикальных поверхностей. Только в этом случае будет достигнут требуемый эффект. Как правило, каркасные бани сооружаются на сваях или столбчатом фундаменте, и обустройство пола начинается с укладки лаг. Снизу к ним прибиваются влагостойкие ориентированно-стружечные плиты (ОСП). Также заранее определяются места расположения функциональных (вытяжка, канализация и др.) отверстий. Дальнейший пирог пола в каркасной бане включает: В качестве числового пола используется шпунтованная доска (для «сухих» комнат) или плитка. Чтобы по полу было приятно ходить, можно предусмотреть систему подогрева. К утеплению стен каркасной бани приступают сразу после создания основной балочной конструкции. Многие специалисты оптимальным материалом считают базальтовые плиты. Они укладываются в межбалочное пространство. Чтобы избавиться от щелей, некоторые мастера советуют использовать совместно плотные маты и рулонный материал. Очень важно производить монтаж качественно, обеспечивать плотное прилегание минваты. Любые дефекты и зазоры могут стать источником теплопотерь. Следующий внутренний слой пирога стены каркасной бани – пароизоляция. Для этого утеплитель обшивают: Завершается утепление внутренних стен бани отделкой. Она должна отстоять от пароизоляции на 1-2 см (вентзазор). Вагонку лучше крепить горизонтально. Так легче производить замену нижних рядов, которые больше подвержены воздействию влаги и быстрее приходят в негодность. Особое внимание следует уделить месту установки печи. Здесь следует использовать только термически стойкие материалы: изолон, базальтовые ткани и др. Монтируется огнезащита на пароизоляцию или поверх декоративной обшивки. Также можно выложить экран из огнеупорного кирпича. Внешние слои стенового пирога составляет гидроизоляция и фасадная декоративная отделка. Причем последняя также будет служить дополнительной теплозащитой и конструкционным элементом, увеличивающим прочность строения. Утепление бани изнутри обязательно включает изоляцию потолков. Минераловатный утеплитель для бани укладывается аналогично стеновому пирогу: Другой способ – теплоизоляция потолка опилками. Она производится со стороны чердака и гарантирует высокую эффективность при меньших финансовых затратах. Задумываясь, как правильно изолировать каркасную баню, важно заранее изучить особенности технологии и выбрать подходящий материал. Только такой подход позволит добиться высокой теплозащиты и получить комфортный микроклимат внутри помещений. Удачных вам решений. uteplix.comКаркасная баня, строим каркасную баню своими руками, полезные советы. Полы в каркасной бане
Как утеплить пол в каркасной бане на сваях своими руками
Инструменты и материалы
Перфоратор с переходникомИзготовление теплого пола
Монтаж тёплого пола в каркасном домеОбустройство протекающего пола
Промышленный рубероидПол в каркасной бани: особенности сооружения и утепления

Выбор материала
Создание пола в каркасной бане
Монтаж лаг
Монтаж пола чернового
Монтаж пола чистового
Важный нюанс
Заключение
Дополнительные статьи
Материалы для обустройства пола в каркасной бане — Banya-top.ru




Материалы для обустройства пола в каркасной бане





Инструкция по обустройству пола
Лаги чернового настила

Крепление лаг без опорных столбов



Видео – Монтаж лаг без опорных столбов
Крепление лаг к опорным столбам
Порядок возведения подпорок и установки лаг





Дальнейшие действия




Видео – Лаги для пола по грунту
Укладка чернового настила

Этап работы Описание Первая доска укладывается на лаги и фиксируется гвоздями или саморезами. Требуемое количество крепежей и правильная схема их расположения показана на изображении. Не забывайте оставить зазор между доской и стеной. Уложите вторую доску вплотную к первой (не всегда, если делается протекающий пол, между элементами оставляют зазор, о чем будет отдельно сказано после таблицы). К торцу второй доски приставьте деревянный брусок и несколько раз ударьте по нему молотком для обеспечения плотного прилегания элементов настила. Закрепите вторую доску аналогично первой. Продолжайте работать в таком порядке, пока не дойдете до этапа укладки последней доски. Последняя доска распиливается в соответствии с размерами оставшегося незаполненным пространства и учетом 2-сантиметрового промежутка между настилом и стеной. 

Укладка чистового настила





Этап работы Описание Вид предлагаемого изделия представлен на изображении. В кронштейн вставляется предварительно обработанный антисептиком прочный брус размерами 5х10 см. Стандартная высота кронштейна составляет 16,7 см. При необходимости по высоте просверливаются дополнительные отверстия. Скрепление поперечин и лаг будет обеспечиваться силами таких уголков. Необходимость предварительного выполнения разметки упоминалась ранее. В соответствии с линиями будущего расположения лаг, просверлите в полу отверстия для размещения крепежей кронштейнов. Предварительно сверьтесь с диаметром соответствующих отверстий в конструкции кронштейна. Установите изделия вдоль линии разметки. Контролируйте ровность расположения изделий. Прикрепите кронштейны к черновому настилу саморезами или другим подходящим крепежем посредством ранее подготовленных отверстий. Монтаж утеплителя Если предполагается не только монтаж чистового настила, но и теплоизоляция, смонтируйте ее на данном этапе работы. Чаще всего утепление выполняется 5-сантиметровым слоем минеральной ваты. Предварительно прорежьте в минвате отверстия так, чтобы через них прошли полки кронштейнов. Брус вставляется в кронштейн, выставляется с учетом требуемого уклона в направлении слива и временно крепится саморезом (крепеж вкручивается не полностью). Перейдите к противоположному краю лаги. Выставьте ее в соответствии с уклоном к сливу. Зафиксируйте брус на требуемой высоте саморезами через кронштейн. На этом этапе вам поможет шуруповерт. Задав требуемый уклон, выполните фиксацию маяка через каждый из установленных кронштейнов. Промежуток между стеной и ориентированной на нее стороной бруса составляет 30-50 мм, что делает фиксацию лаги шуруповертом невозможной. Решение следующее: В такой же последовательности монтируются остальные лаги. Перемычки монтируются с шагом 100 см. Порядок действий тот же: Видео – Установка лаг на кронштейны
Видео – Как сделать пол в каркасной бане
Укладка пола для каркасной бани из бруса своими руками. Конструкции. Вентиляция с забором воздуха из под пола. Секреты от Саныча.





Каркасная баня, строим каркасную баню своими руками, полезные советы. Как соорудить каркасную баню, какие особенности следует учесть при выполнении строительных работ своими руками
Строительство бани начинаем с планировки


Выбираем место для строительства

Фундамент для каркасной бани


Каркасные бани своими руками — конструируем стены


Как правильно сделать обшивку каркасной бани


Как сделать крышу для каркасной бани



Как сделать потолок в каркасной бане



Обустраиваем пол в бане


как построить самому быстро и без ошибок
Этап I. Проектируем





Этап II. Строим фундамент
Деревянный брусовый: для мини-бани

Столбчатый: для высоких грунтовых вод


Фундамент из блоков: под легкую баню

Свайно-винтовой: для сложных почв

Ленточный: для надежных почв



Этап III. Укладываем и утепляем полы


Этап IV. Поднимаем стены

Строим стены прямо на фундаменте

Поднимаем готовые стены



Этап V. Сооружаем стропильную систему



Этап VI. Отделываем стены современными материалами
Вагонка

Термопанели
Облицовочный кирпич
Виниловый сайдинг
Блокхаус

Этап VII. Утепляем и пароизолируем


Утепление каркасной бани: детальное руководство

Как утеплить каркасную баню: особенности материала и технологии

Вентиляция в каркасной бане: правила создания

Процесс теплоизоляции каркасной бани
Изоляция пола

Утепление стен


Теплоизоляция потолка

Выводы