Тема нормативных документов при монтаже ПВХ окон очень важна. Одной из основных бумаг, которой следует пользоваться при проведении монтажных работ является СНиП установки пластиковых окон (полный документ вы сможете скачать в конце данной записи). Процесс установки пластиковых окон регламентируется определённой документацией, среди которой есть как основная (это Государственный стандарт или ГОСТ), так и вспомогательная (это Строительные нормы и правила или СНиП). Причём название «вспомогательная» вовсе не означает что СНиП менее важны, ведь это совокупность нормативных актов экономического и правового характера. Монтаж пластиковых окон в соответствии со СНиП подразумевает не вопросы технического характера (как закрепить, при какой температуре, какова длина шурупов и т.п.), а вопросы санитарно-гигиенического характера, в данном случае — тепловой защиты зданий. Так как мы живём в стране в резким климатом, где лето — жаркое, а зима — достаточно морозная, то имеют место и температурные изменения в строительных конструкциях, в том числе и в пластиковых окнах. Чтобы избежать неприятных последствий и учесть все нюансы, просто прочтите СНиП и строго следуйте указаниям данного документа/ Говоря о СНиП монтажа ПВХ окон, важен, по сути, лишь один документ: «СНиП 23-02-2003. Тепловая защита зданий»(принятый постановлением Госстроя РФ от 26.06.2003 N 113). Для повышения качества услуг установки пластиковых окон, было разработано 3 ГОСТа. Основными нормативными актами для установки ПВХ-окон выступают: Их соблюдение – гарантия долговечности окна. Особенностью установки профилей по ГОСТу является качество закладки монтажных швов. Технически правильная герметизация монтажных швов обеспечивает сокращение энергопотребления до 25%. ГОСТы регулируют все этапы установки, гарантируя надежность монтажа. Установка пластикового окна в соответствии с ГОСТами – длительный, трудоемкий процесс. Сложность заключается не в изготовлении окна. По ГОСТ 30971-2012, процесс замены окна на новое начинается оштукатуриванием и грунтовкой проема. Кроме этого предварительно нужно провести замеры, оценку стен, проверить состояние отопления и вентиляции. Требуется также согласование со специалистами и создателями архитектурного проекта. Последнее необходимо при несоответствии размеров конструкторской документации здания. При этом фирма, которая устанавливает профили по ГОСТам, должна утвердить инструкцию монтажа у органов, которые занимаются управлением региональным строительством. Монтаж ПВХ-профиля осуществляется двумя способами: монтаж цельного окна или с разборкой. Согласно «инструкции ГОСТа на монтаж окон ПВХ», разборный метод всегда применяется при выполнении одного из условий: При последующей установке первой монтируется рама. Затем последовательно закрепляются остальные элементы. Последними устанавливаются откосы, а отлив подсоединяется к профилю. Оконная система устанавливается предельно ровно. Отклонение по всем направлениям находится в пределах 3 мм. на весь профиль и 1,5 мм. на каждый метр. Чрезмерный наклон рамы противоречит требованиям безопасности, поэтому данное требование «ГОСТа на установку пластиковых окон» является обязательным. По ГОСТу 52749-2007 необходимо использовать трехслойный монтажный шов. Шов короче профиля примерно на 30-35 см. Это обеспечивает гидроизоляцию, предотвратив тепловое расширение. Ширину шва нельзя превышать, поскольку это отрицательно скажется на прочности креплений. После укладки шва на раму устанавливается фурнитура, закрепляются наружные отливы. В «ГОСТе на установку пластиковых окон 30674-99» содержатся рекомендации по показателям теплоизоляционных свойств пластиковых окон. Для однокамерных стеклопакетов значение сопротивления теплопередаче в °С/Вт имеет широкий диапазон, варьируясь в пределах 0,35-0,63. Для двухкамерных профилей этот показатель составляет 0,49-0,56. Наличие теплоотражающего покрытия на двухкамерном профиле повышает значение до 57-72 °С/Вт. В «ГОСТе установки окон ПВХ ГОСТ 30674-99» указана долговечность оконных профилей, в зависимости от материала: Согласно «правилам установки окон по ГОСТу», звукоизоляция профиля должна превышать 26дБА. Рекомендуемый коэффициент светопропускания составляет 0,35-0,60, зависимо от наличия специального покрытия. При точном соблюдении «технологии установки пластиковых окон по ГОСТу», результат обязан соответствовать СНиП 23-02-2003. СНиП устанавливает параметры тепловой защиты зданий. Данный документ не обязателен к выполнению, но несоответствие ему лишает гарантий достаточной теплоизоляции помещения. Для соблюдения требования СНиП в климатических условиях Сибири требуется устанавливать 5-ти камерные профили. Для восточных регионов подойдут 3-х камерные окна. При выборе профиля ориентируйтесь на климатическую температуру региона. «Схема монтажа окна по ГОСТу» проста, достаточно закрепить его на анкеры. Если оконную раму не разбирали, профиль монтируется быстро. Общий вид «установки окон ПВХ по ГОСТу»: Значение имеет отделка монтажного шва и профессионализм исполнителей. Укладка шва производится в 3 этапа. При этом важны характеристики конструкции, крепежа, геометрии, уплотнения и изоляции. Требования ГОСТа 30971-2012 к монтажному шву всего два – прочность и изоляция. Прочность заключается в устойчивости к нагрузкам в процессе эксплуатации. Функция изоляции призвана защитить жилище от теплоотдачи, шума, пара и влаги. Наружный, первый при укладке, слой защищает шов от проникновения влаги, способствуя выведению пара. На него приходится основная нагрузка агрессивной внешней среды. Следовательно, он обеспечивает надежную защиту, имея сопротивляемость к отслаиванию. Иногда в качестве наружного покрытия шва используется силикон. Центральный слой представляет собой непосредственно утеплитель. Требований по прочности ко второму слою не выдвигается. Главная функция теплоизолятора – препятствовать теплообмену. Обычно второй слой изготавливается при помощи полиуретановой монтажной пены. Внутренний слой препятствует проникновению в шов пара и механическим повреждениям при эксплуатации. «Правила монтажа окон ПВХ по ГОСТу» предусматривают, что пароизоляционные материалы укладываются непрерывным слоем, без не проклеенных участков и разрывов. Для достижения нужной плотности, слой наносится методом оштукатуривания. Материалом выступает специальная пароизоляционная лента из бутила. Возможно использование влагостойкого гипсокартона. Экономным вариантом является использование силикона. Монтажный шов представляет собой соединительный узел между стеной и ПВХ-профилем. По причине разницы плотности и свойств, разница температур приводит к расширению зазора. Укладка проводится со всей ответственностью, чтобы избежать теплообмена. В ГОСТе 30971-2012 для оконной системы указаны общие технические условия для монтажных швов и узлов примыканий оконных систем к проемам стен. Норма действует на территории России и еще 5 стран СНГ. «Монтаж пластикового окна по ГОСТу» требует точных измерений наклона профиля относительно проема. Проверка осуществляется отвесом и уровнем. На этапе установки важно правильно рассчитать количество и расположение анкеров по ГОСТУ. Для установки двухстворчатого окна понадобится 14 анкеров. Такое количество кажется избыточным, но выполнение требований ГОСТ 30971-2012 гарантирует долговечность ПВХ-окна. Укладка 3-го слоя шва для пароизоляции также нерациональна, однако повышает срок службы утеплителя в 2-3 раза. Целесообразно руководствоваться положениями ГОСТа 30971-2012 при установке окна в новом доме. При демонтаже старые стены осыпаются и скалываются, а «правила монтажа пластиковых окон по ГОСТу» предусматривают установку на проем с выкосами и выемками не выше 10 мм. Это предполагает затраты на грунтовку и штукатурку, которые сохнут дольше суток. И даже после этого от пароизоляционной ленты пользы не будет. На «фото монтаж окна ПВХ по ГОСТу»: Застекление квартиры снизижает шум улицы: Пластиковые окна устанавливают и в собственные дома, сокращая энергозатраты: Установка окон по ГОСТам принесет комфорт в дом, сохранив оптимальную температуру, независимо от времени года. «Технологическая карта монтажа ПВХ-окна» предназначена для разработки проектов. Используется карта для организации работ по установке оконных рам на объекте. Это необходимый документ, используемый в «технологии монтажа окон ПВХ по ГОСТу». В технологической карте содержатся технологические процессы по монтажу и примеры заполнения нужных таблиц. Документ состоит из 7 разделов: До начала работ на объект завозятся материалы, инвентарь, приспособления и инструменты. Все окна антисептированы производителем и готовы к установке. Получив технологическую карту, монтажники сразу приступают к установке профиля. Работы выполняются согласно регламенту технологической карты, а она составлена на основании соответствующих ГОСТов. Без технологической карты крупные монтажные работы не начинаются. При условии соблюдения СНиП, «инструкция установки пластиковых окон по ГОСТу», по размерам зазоров автоматически соблюдаются. Однако размеры проема уточняются непосредственно после демонтажа, когда рама изготовлена и готова к установке. Выяснить размеры проема с установленной рамой предварительно нельзя. По этой причине мастер выбирает соответствующий анкер и запенивает зазор непосредственно при монтаже. Размер «зазора при установке пластиковых окон по ГОСТу» должен быть выше 20мм. По факту, работы начинают при ширине зазора более 30 мм. Однако превышение зазором 90 мм является нежелательным и серьезно влияет на прочность крепления профиля. Расстояние между анкерами зависит от ширины профиля. В среднем они расположены в 50см. На видео при помощи 3D графики наглядно показаны различие между установкой пластиковых окон обычным методом и по ГОСТу. Также продемонстрированы факторы негативного влияния и их последствия. В видео продемонстрирован процесс установки она по ГОСТа и перечислены оптимальные материалы. Подробная инструкция позволяет быстро разобраться с очередностью действий при установке рамы. При покупке окна мы планируем, что оно сможет исправно служить на протяжении многих десятилетий. Однако это возможно только лишь в том случае, когда окно правильно установлено. Практически у всех специалистов есть свои собственные методики и секреты, но имеются и специальные закрепленные нормы – ГОСТ и СНиП. Именно установка окон ПВХ по ГОСТу способна дать максимально качественный результат. Установка окон ПВХ по ГОСТу станет гарантией его долгой и беспроблемной службы. Сегодня все виды связанных с этой областью работ регламентируются четырьмя основным стандартами: Все перечисленные выше нормативные документы являются действующими, но при этом не обязательными к исполнению. Единственным исключением стали различные требования, так или иначе касающиеся безопасности. Соответствие ГОСТам помогает лишь добиться высочайшего качества установки окна. Сам монтаж пластиковых окон по ГОСТу мало чем отличается в общих чертах от обычного монтажа окна ПВХ. Основные различия кроются в нюансах и соблюдении целого ряда требований. Технология установки пластиковых окон следующая: Перед тем как приступить к работе, следует провести ряд замеров. Габариты окна устанавливаются следящим образом: ширина окна – это ширина оконного проема, из которой вычитают удвоенную ширину монтажного зазора (который будет с обеих сторон), высота – аналогично. Согласно ГОСТу, минимальная ширина подобного зазора составляет 2 см, а при расчетах чаще всего используют показатель в 2,5-3 см . Если же речь идет об установке окна в проем с внешней четвертью, то все измерения следует производить с внешней стороны. Шириной будет расстояние между четвертями, увеличенное на размер завода рамы за четверть, который составляет от 2,5 до 4 см. Высота определяется аналогично. После того как окна будут изготовлены и доставлены заказчику, не следует сразу приступать к работам. Рекомендуется вначале подготовить помещение: расчистить пространство у окна для удобной работы, убрать ненужные вещи и мебель, закрыть стены и оставшиеся предметы пленкой или плотной тканью. Створки с рамы демонтируются, полость подставочного профиля заполняется теплоизолирующей пеной. Последнее рекомендуется сделать еще за сутки до монтажа. Особое внимание следует уделить самому проему – он должен быть заранее очищен от грязи и пыли. Если имеются ощутимые неровности, они выравниваются шпатлевкой . В ГОСТ оговорены два основных вида крепления окна. Первый производится в плоскости монтажа – саморезы крепят прямо через раму. Данный вариант применяется чаще всего, но требует, чтобы створки дверей и стеклопакеты с рамы были сняты заранее. Плюсом данного метода является простота установки в проем. Второй вариант использует основан на использовании арматуры, вмонтированной в раму при производстве. Монтировать конструкцию можно целиком. Следует учесть, что ее вес будет довольно большим, так что процесс потребует определённых усилий и навыков. Установка пластиковых окон по ГОСТу предусматривает один важный момент: рама не устанавливается на голое кирпичное или подобное основание. Вместо этого подкладываются небольшие деревянные бруски, пропитанные растворами. Они помогут в выравнивании окна. После этого на них ставится или отдельно рама, или же вся конструкция целиком, что зависит от предпочитаемого вида крепления. Для большей устойчивости и надежности опоры оставляют частью конструкции, а между окном и стеной сверху выбивают клинья для фиксации. После этого аналогично рама крепится с боков. Контролируя процесс уровнем, раму выравнивают, корректировку проводят добором подложек. Крепление рамы, согласно ГОСТ, может осуществляться через просверленные заранее крепления. Начинать следует с нижней части, постепенно перебираясь выше. В довершение конструкцию дополнительно проверяют на горизонтальность и затягивают все саморезы и анкера. Чаще всего с наружной части окна предусмотрен специальный паз, в который монтируется водоотлив. ГОСТ утверждает, что при установке его следует обязательно запенить. Если потребуется создать более прочную конструкцию, водоотлив дополнительно крепят шурупами. По завершении требуется провести еще одну контрольную проверку всей конструкции: на прочность, вертикальность и горизонтальность. После этого останется собрать окно. Процесс сборки проходит в порядке, обратном разборке: в процессе возвращаются на свои места ограничители, ручки и прочая фурнитура. Особое внимание в ГОСТах уделяется заполнению зазоров. Выполняется эта процедура практически всегда монтажной пеной на основе пенополиуретана. Данный материал проверен годами работ, но все же имеет ряд недостатков. Прежде всего, его стойкость к воздействию окружающей среды и ультрафиолету оставляет желать лучшего. Именно поэтому стандарты ГОСТ предписывают производить максимальное изолирование всех швов со всех сторон – это позволит избежать разрушения утеплителя, которое может обернуться потерей герметичности, запотеванием окон и проникновением холода с улицы в дом. Процедура изоляции следующая: изнутри по всему периметру наклеивают гидроизоляционную ленту для окон ПВХ. Лента должна обладать также и свойством паронепроницаемости. В нижней части приклеивается полоса из фольги, которая впоследствии окажется под доской подоконника. Аналогичным образом проходят и по внешней стороне. Клейкая полоса ПСУЛ (влагостойкая и паронепроницаемая). Эта мембранная пленка умеет пропускать пар наружу. Оба упомянутых материала характерны не только тем, что найти их на строительном рынке не составит труда. Они также отличаются и доступностью, то есть итоговая цена работ в итоге возрастет не так и сильно, а качество же увеличится значительно. Кроме того, смонтированная таким образом конструкция прослужит на несколько лет дольше. Для заполнения зазора при монтаже окон ПВХ по ГОСТу полосы несколько отгибаются, а поверхность изнутри смачивается. Наносят состав при помощи пистолета. В качестве заполнителя используется пена, предназначенная для использования круглый год. Согласно ГОСТ, использовать можно и обычную пену, но только лишь при температуре до 30 градусов мороза. Учитывая условия в большинстве регионов, подобное утепление шва в России оказывается малоприменимо . На последнем этапе работ производится установка подоконника. Данный процесс считается достаточно простым – необходимо будет лишь подогнать по размеру и при необходимости подрезать готовый подоконник, чтобы тот идеально вошел под раму. По ГОСТ 30971, допускается захождение подоконника на стены на расстояние от 5 до 10 см. Для придания уровня используются колышки, после чего полость под доской заделывается монтажной пеной или раствором. Специалисты рекомендуют при монтаже сделать уклон в 1-2 градуса в сторону комнаты. Для декорирования подоконника используют панели из пластика, которые при помощи клипсы крепятся на начальный профиль. Наличник, который заводится за угол, закрепляют саморезами, а сверху накрывают декоративной пленкой. Останется лишь надеть торцевые заглушки и за герметизировать швы герметиком. Многие строительные компании трактуют стандарты ГОСТ и СНиП как хотят и могут попросту игнорировать их, а чем чревата неправильная установка, лишний раз говорить не надо. Выхода здесь два: или внимательно следить за процессом установки и сразу подмечать нарушения, или же произвести установку окон по ГОСТу собственными силами. Источники: http://narwin.ru/snip-teplovaya-zashhita-zdanij/, http://chistoe-okno.ru/articles/plastikovye-okna/gost-na-montazh-i-ustanovku-plastikovykh-okon-pvkh-skhemy-tekhnologii-instrukczii.html, http://domzastroika.ru/okna/plastikovie/ustanovka-po-gostu.html 1oknn.ru Окно играет важную роль в наиболее важных аспектах домашнего дизайна, обеспечивая освещенность, проветривание, стильный дизайн. Подоконная доска находится под оконной рамой и участвует в общем дизайне помещения. Основная функция – это увеличение воздушной прослойки в области окна и защита от конденсата. Согласно нормативной документации, высота подоконника в городских квартирах привязана к расположению отопительных приборов и оконных проемов: Рис. 1. Высота подоконника Сила окон очевидна, когда размер, тип или местоположение просчитываются специалистами. Если комнату постоянно заливает солнце, с этим можно бороться. Но удручающе тусклые и темные помещения требуют замены окон и подоконников. Рис. 2. Стандартные параметры окна, дверей в комнате Строительный стандарт оконных проемов многоэтажных зданий предусматривает соответствие размеру комнаты и расположение. Но результаты не всегда соответствуют проекту. Рекомендации предлагают воспользоваться действующими нормами: Модное панорамное остекление начинается практически от пола. Подоконники расположены совсем низко. Это требует дополнительных мер безопасности: Если виды из окна не радуют, посадка подоконной доски в гостиной находится на отметке 0.8 м – немного выше обеденного стола. Окна устанавливают ниже и выше должной высоты 0.9 м над полом. Традиционная отметка позволять размещать мебель под подоконником. Но если место не занято, опускание подоконника увеличит вентиляцию, откроет панораму, увеличит световой поток. Гостиная занимает значительную площадь в квартире и обычно оснащена большими окнами. Но стильное остекление не гарантирует приятную панораму. Например, если из гостиной видна только стена дома напротив или автостоянка, можно изменить большой проем на пару меньшего размера. Рис. 3. Окна и подоконник в гостиной Большие окна, выходящие на юг, могут заполнять все помещения ярким освещением, но надо помнить о возможности перегрева летом. Многие гостиные также имеют стеклянные двери на балконах. Сложенные вместе окна и двери создают ощущение открытости, чтобы дом казался больше фактического размера. Но это великолепие требует интеграции в дизайн с применением координатной отделки и акцента. В данном случае используется подоконник с подходящей текстурой. Рис. 4. Высота подоконника от пола в гостиной Подоконник панорамных окон располагается на отметке 0. 25-0.40 м – зазор позволяет установить специальные батареи, которые компенсирует потерю тепла через большое оконное пространство. Если увеличить ширину доски, можно устроить прекрасное место для цветов или чтения. Самая важная функция окна в спальне – обеспечить достаточный поток воздуха в теплые ночи. Функциональные дополнения обеспечивают работоспособную область: Окна спальни также предусматривают некоторые соображения безопасности. Если комнаты расположены от второго этажа и выше, строительные нормы и правила требуют, чтобы окна имели определенный размер и высоту подоконника на случай пожара. Можно экспериментировать в частном доме и остеклить внешнюю стену, но этажность не позволяет отклоняться от правил. Поэтому небольшие окна – лучший вариант для отдыха, поскольку они автоматически уменьшают потерю тепла. Высота от пола до подоконника не имеет значения, но обычно для спальни составляет 0.9 м – примерная высота спинки кровати. Рис. 5. Высота подоконника от пола в спальне На детском окне подоконник традиционно монтируют на высоте 0.7 м. Специалисты рекомендуют использовать широкую доску, чтобы обеспечить более естественный свет в комнате. Окно стоит снабдить защитной сеткой. Рис. 6. Высота подоконника от пола в детской Если подоконник совмещают с письменным столом, такая компоновка обеспечивает долговременное освещение. В зависимости от взаимодействия естественного света и оконного проема, конструкцию дополняют простыми шторами без шнурков, системой блокировки открытия. В таких областях, как кабинет, расположение подоконника привязывают к мебели. Визуальное благополучие обеспечивает совпадение верхней линии оконного проема и шкафов, зато подоконник и столешница на одном уровне позволяют получить максимальный дневной свет на рабочем месте. Рис. 7. Высота подоконника от пола в кабинете Столы по тем же причинам ставят рядом с окном – в другом месте рабочее место потребует некоторых изменений. Не увеличивая параметры окна, рекомендуется понизить положение подоконной панели до 0.6-0.65 м. Это помогает осветить темные углы. На кухне комфортным считается подоконная инсталляция на отметке 0.9 м – это популярная высота кухонной обстановки и напольных плит. Обеденный стол производят чуть ниже, поэтому он освещается днем естественным светом. Рис. 8. Высота подоконников от пола в кухне Если устанавливают панель в кухне, окно должно быть выше. Комфортная высота барной стойки – 1.1 м или чуть выше. Инсталляция подоконника в этом случае на отметке около 1.2 м. Надо обратить внимание на удобное управление створками при заказе остекления. Высокая посадка окна сделает открывание неудобным, поэтому ручки располагают внизу рамы. Проблема разработки окон в частном доме – это выбор размещения и оптимальной высоты подоконника. Расположение подоконника над полом не фиксируется нормами, а носит рекомендательный характер. Если вы хотите построить дом или провести капитальный ремонт, нужно ориентироваться на собственное чувство комфорта, но не забывать о фасаде. Оконные проемы на разной высоте снаружи будут выглядеть странно. Стеклянные конструкции обеспечивают инсоляцию при соотношении подоконной доски и пола в жилых помещениях и кухнях не менее 1:8. Оконные рамы могут быть из любых материалов – дерева, пластика, алюминия, металла, древесно-алюминиевого материала. Каждый материал имеет свои характеристики и преимущества. К подоконникам предъявляют другие требования – эстетика и долговечность. Рис. 9. Подоконники в доме Чаще всего размещение окон определяется на этапе проектирования дома. Это может вызвать проблемы визуального выравнивания в интерьере, если высота двери и окна не совпадают в отдельных комнатах или по обе стороны угла. Секрет успеха состоит в том, чтобы при установке окон и подоконников визуальная гармония одновременно присутствовала как внутри, так и снаружи: Проектирование макетов окон может показаться легким, пока вы не рассмотрите все факторы, влияющие на дизайн окна, и как выглядят все окна на одной стороне фасада. Стоит искать компромисс в назначении комнат, стиле окон и подоконников в процессе разработки проектов, чтобы придать вашему дому больше индивидуальности. okna-biz.ru Для повышения качества услуг установки пластиковых окон, было разработано 3 ГОСТа. Основными нормативными актами для установки ПВХ-окон выступают: Их соблюдение – гарантия долговечности окна. Особенностью установки профилей по ГОСТу является качество закладки монтажных швов. Технически правильная герметизация монтажных швов обеспечивает сокращение энергопотребления до 25%. ГОСТы регулируют все этапы установки, гарантируя надежность монтажа. Установка пластикового окна в соответствии с ГОСТами – длительный, трудоемкий процесс. Сложность заключается не в изготовлении окна. По ГОСТ 30971-2012, процесс замены окна на новое начинается оштукатуриванием и грунтовкой проема. Кроме этого предварительно нужно провести замеры, оценку стен, проверить состояние отопления и вентиляции. Требуется также согласование со специалистами и создателями архитектурного проекта. Последнее необходимо при несоответствии размеров конструкторской документации здания. При этом фирма, которая устанавливает профили по ГОСТам, должна утвердить инструкцию монтажа у органов, которые занимаются управлением региональным строительством. Монтаж ПВХ-профиля осуществляется двумя способами: монтаж цельного окна или с разборкой. Согласно «инструкции ГОСТа на монтаж окон ПВХ», разборный метод всегда применяется при выполнении одного из условий: При последующей установке первой монтируется рама. Затем последовательно закрепляются остальные элементы. Последними устанавливаются откосы, а отлив подсоединяется к профилю. Оконная система устанавливается предельно ровно. Отклонение по всем направлениям находится в пределах 3 мм. на весь профиль и 1,5 мм. на каждый метр. Чрезмерный наклон рамы противоречит требованиям безопасности, поэтому данное требование «ГОСТа на установку пластиковых окон» является обязательным. По ГОСТу 52749-2007 необходимо использовать трехслойный монтажный шов. Шов короче профиля примерно на 30-35 см. Это обеспечивает гидроизоляцию, предотвратив тепловое расширение. Ширину шва нельзя превышать, поскольку это отрицательно скажется на прочности креплений. После укладки шва на раму устанавливается фурнитура, закрепляются наружные отливы. В «ГОСТе на установку пластиковых окон 30674-99» содержатся рекомендации по показателям теплоизоляционных свойств пластиковых окон. Для однокамерных стеклопакетов значение сопротивления теплопередаче в °С/Вт имеет широкий диапазон, варьируясь в пределах 0,35-0,63. Для двухкамерных профилей этот показатель составляет 0,49-0,56. Наличие теплоотражающего покрытия на двухкамерном профиле повышает значение до 57-72 °С/Вт. В «ГОСТе установки окон ПВХ ГОСТ 30674-99» указана долговечность оконных профилей, в зависимости от материала: Согласно «правилам установки окон по ГОСТу», звукоизоляция профиля должна превышать 26дБА. Рекомендуемый коэффициент светопропускания составляет 0,35-0,60, зависимо от наличия специального покрытия. При точном соблюдении «технологии установки пластиковых окон по ГОСТу», результат обязан соответствовать СНиП 23-02-2003. СНиП устанавливает параметры тепловой защиты зданий. Данный документ не обязателен к выполнению, но несоответствие ему лишает гарантий достаточной теплоизоляции помещения. Для соблюдения требования СНиП в климатических условиях Сибири требуется устанавливать 5-ти камерные профили. Для восточных регионов подойдут 3-х камерные окна. При выборе профиля ориентируйтесь на климатическую температуру региона. «Схема монтажа окна по ГОСТу» проста, достаточно закрепить его на анкеры. Если оконную раму не разбирали, профиль монтируется быстро. Общий вид «установки окон ПВХ по ГОСТу»: Значение имеет отделка монтажного шва и профессионализм исполнителей. Укладка шва производится в 3 этапа. При этом важны характеристики конструкции, крепежа, геометрии, уплотнения и изоляции. Требования ГОСТа 30971-2012 к монтажному шву всего два – прочность и изоляция. Прочность заключается в устойчивости к нагрузкам в процессе эксплуатации. Функция изоляции призвана защитить жилище от теплоотдачи, шума, пара и влаги. Наружный, первый при укладке, слой защищает шов от проникновения влаги, способствуя выведению пара. На него приходится основная нагрузка агрессивной внешней среды. Следовательно, он обеспечивает надежную защиту, имея сопротивляемость к отслаиванию. Иногда в качестве наружного покрытия шва используется силикон. Наружный слой: Центральный слой представляет собой непосредственно утеплитель. Требований по прочности ко второму слою не выдвигается. Главная функция теплоизолятора – препятствовать теплообмену. Обычно второй слой изготавливается при помощи полиуретановой монтажной пены. Центральный слой: Внутренний слой препятствует проникновению в шов пара и механическим повреждениям при эксплуатации. «Правила монтажа окон ПВХ по ГОСТу» предусматривают, что пароизоляционные материалы укладываются непрерывным слоем, без не проклеенных участков и разрывов. Для достижения нужной плотности, слой наносится методом оштукатуривания. Материалом выступает специальная пароизоляционная лента из бутила. Возможно использование влагостойкого гипсокартона. Экономным вариантом является использование силикона. Внутренний слой: Монтажный шов представляет собой соединительный узел между стеной и ПВХ-профилем. По причине разницы плотности и свойств, разница температур приводит к расширению зазора. Укладка проводится со всей ответственностью, чтобы избежать теплообмена. В ГОСТе 30971-2012 для оконной системы указаны общие технические условия для монтажных швов и узлов примыканий оконных систем к проемам стен. Норма действует на территории России и еще 5 стран СНГ. «Монтаж пластикового окна по ГОСТу» требует точных измерений наклона профиля относительно проема. Проверка осуществляется отвесом и уровнем. На этапе установки важно правильно рассчитать количество и расположение анкеров по ГОСТУ. Для установки двухстворчатого окна понадобится 14 анкеров. Такое количество кажется избыточным, но выполнение требований ГОСТ 30971-2012 гарантирует долговечность ПВХ-окна. Укладка 3-го слоя шва для пароизоляции также нерациональна, однако повышает срок службы утеплителя в 2-3 раза. Целесообразно руководствоваться положениями ГОСТа 30971-2012 при установке окна в новом доме. При демонтаже старые стены осыпаются и скалываются, а «правила монтажа пластиковых окон по ГОСТу» предусматривают установку на проем с выкосами и выемками не выше 10 мм. Это предполагает затраты на грунтовку и штукатурку, которые сохнут дольше суток. И даже после этого от пароизоляционной ленты пользы не будет. На «фото монтаж окна ПВХ по ГОСТу»: Застекление квартиры снизижает шум улицы: Пластиковые окна устанавливают и в собственные дома, сокращая энергозатраты: Установка окон по ГОСТам принесет комфорт в дом, сохранив оптимальную температуру, независимо от времени года. «Технологическая карта монтажа ПВХ-окна» предназначена для разработки проектов. Используется карта для организации работ по установке оконных рам на объекте. Это необходимый документ, используемый в «технологии монтажа окон ПВХ по ГОСТу». В технологической карте содержатся технологические процессы по монтажу и примеры заполнения нужных таблиц. Документ состоит из 7 разделов: До начала работ на объект завозятся материалы, инвентарь, приспособления и инструменты. Все окна антисептированы производителем и готовы к установке. Получив технологическую карту, монтажники сразу приступают к установке профиля. Работы выполняются согласно регламенту технологической карты, а она составлена на основании соответствующих ГОСТов. Без технологической карты крупные монтажные работы не начинаются. При условии соблюдения СНиП, «инструкция установки пластиковых окон по ГОСТу», по размерам зазоров автоматически соблюдаются. Однако размеры проема уточняются непосредственно после демонтажа, когда рама изготовлена и готова к установке. Выяснить размеры проема с установленной рамой предварительно нельзя. По этой причине мастер выбирает соответствующий анкер и запенивает зазор непосредственно при монтаже. Размер «зазора при установке пластиковых окон по ГОСТу» должен быть выше 20мм. По факту, работы начинают при ширине зазора более 30 мм. Однако превышение зазором 90 мм является нежелательным и серьезно влияет на прочность крепления профиля. Расстояние между анкерами зависит от ширины профиля. В среднем они расположены в 50см. На видео при помощи 3D графики наглядно показаны различие между установкой пластиковых окон обычным методом и по ГОСТу. Также продемонстрированы факторы негативного влияния и их последствия. В видео продемонстрирован процесс установки она по ГОСТа и перечислены оптимальные материалы. Подробная инструкция позволяет быстро разобраться с очередностью действий при установке рамы. . chistoe-okno.ru Рис. 148. Монтажное положение радиатора со смещением от оси оконного проёма при установке без ниши (а) и в нище (б) Согласно СНиП III-28-75, принимается следующая высота установки санитарно-технической арматуры, мм: Счетчики воды (от уровня чистого пола) — 300—1000Водоразборные краны и смесители (от горизонтальной осн до борта):раковины — 250мойки — 200Туалетные краны умывальников (от борта) — 200Водоразборные краны в банях (от оси до пола) — 800Смывные краны у унитазов (от осн до пола) — 800Смесители (от оси до пола):общие для ванн и умывальников — 1100для ванн и душевых поддонов — 800Душевые сетки (от низа сетки до пола) — 2100—2250Смесительная арматура душей (от пола) — 1200Пожарные краны (от пола) — 1350 Примечание. По высоте установки допускаются отклонения не более 20 мм.В табл. 188 приведена высота установки санитарных приборов.Минимальные расстояния между газопроводами и инженерными коммуникациями, расположенными внутри помещений, следует принимать по табл. 189. Таблица 188. ВЫСОТА УСТАНОВКИ САНИТАРНЫХ ПРИБОРОВ Рис. 151. Монтажные положения канализационных, водопроводных и газовых стояков при скрытой прокладке Примечания:1. В детских садах и яслях, в помещениях для детей младшего возраста расстояние от пола до борта умывальника принимается 0,5 м.2. Смывная труба для промывки писсуарного лотка должна быть направлена отверстиями к стене под углом 45° вниз.3. Допускаемое отклонение по высоте для отдельно стоящих приборов— 20 мм, а при групповой установке однотипных приборов — 5 мм. Таблица 189. РАССТОЯНИЯ МЕЖДУ ЭЛЕКТРООБОРУДОВАНИЕМ, ГАЗОПРОВОДАМИ И ИНЖЕНЕРНЫМИ КОММУНИКАЦИЯМИ Скрытая электропроводка или проложенная в трубе Токонесущие части открытых (голых) проводов напряжением до 1000 В Распределительные и коммутационные электрощиты или шкафы 5 (от края заделанной борозды или трубы) 1000 ЗОО 10 1000 Не допускается snip1.ru Комментарии специалиста: Для современного окна важен его грамотный монтаж в стенном проеме. Можно утверждать, что потребительские свойства окна наполовину зависят от его правильной установки. Однако именно в области монтажа в настоящее время ошибок совершается больше всего. По статистике крупных фирм, на монтаж приходится более 80% рекламаций. Это происходит по двум причинам: первая – необоснованная экономия средств на установке, вторая — уровень квалификации и ответственности монтажников. Ошибки при установке самого лучшего оконного блока могут свести «на нет» его великолепные качества. При изготовлении ПВХ окон технологические операции отработаны, как движения солдат в строю по команде офицера: делай раз, делай два, делай три. Ошибиться можно, конечно, и на производстве, но если только откровенно нарушать технологию. Как правило, такое не происходит. Но при монтаже свобода выбора различных вариантов исполнения работы больше, сам процесс установки трудоемкий, и поэтому соблазн «схалтурить» при монтаже довольно велик. Экономия при этом составляет копейки, а проблем впоследствии – на серьезные суммы. ГОСТ 30971-2002 «Швы монтажные узлов примыканий оконных блоков к стеновым проемам. Общие технические условия» введен в действие распоряжением Госстроя РФ с 01.03.2003. В связи с необходимостью корректировки проектной документации для проектных и строительных организаций допускается переходный период для освоения ГОСТа до 01.07.2003. К российским нормам присоединились республики Азербайджан, Казахстан, Киргизия, Молдова и Узбекистан. Новые нормы приносят значительную формализацию монтажа окон и требуют многочисленных документов. Среди них надо отметить необходимость наличия у каждой монтажной фирмы «Инструкции по монтажу окон», утвержденной в местных органах власти, необходимость разрабатывать монтажные узлы окон для каждого строящегося объекта и согласование узлов с заказчиком, рекомендуется проводить анализ тепловых полей, а также предусмотрено оформление актов сдачи-приемки оконных проемов перед монтажом, акты проведения скрытых работ и акты сдачи-приемки выполненной установки окон. Особый интерес в нормах представляют Приложения. Приложение А (рекомендуемое) представляет собой чертежи с примерами монтажа окон; Приложение Б (рекомендуемое) выдвигает требования к креплению окон в проемах; Приложение В (обязательное) представляет собой собственно требования к монтажу окон в целом и по сути является главным рабочим документом; Приложение Г (рекомендуемое) описывает требования к методу расчета тепловых полей (анализ изотерм). В России, как в Европе В целом, российские нормы на монтаж не противоречат немецким нормативным требованиям в части техники. ГОСТ требуют от оконных фирм большого числа формальностей и имеют больше требований по проведению испытаний конструкций швов и применяемых для них материалов. Формализация оправдывается борьбой с российской халатностью. Испытания материалов и швов в целом оправдывается тем, что до сих пор в России подробных норм на монтаж не было вовсе, нет накопленного научного опыта по определению свойств монтажных материалов и качества швов. Конечно, для потребителя нет необходимости знать все положения этого ГОСТа это обязанность профессионалов. Не вникая в тонкости, можно говорить о трех основных принципах установки окон, на которые надо обратить самое пристальное внимание. Важные моменты монтажа окон по ГОСТ 1. Три слоя заделки шва. Содержание основной части норм посвящено правилам заполнения монтажного зазора между оконными блоками и проемами по принципу «изнутри плотнее, чем снаружи». Каждый монтажный узел должен иметь три слоя заделки: снаружи – защита от климатических воздействий, в середине – утеплитель, изнутри – пароизоляция. Можно использовать разные материалы для внешних слоев и разные монтажные пены, но, в том или в другом исполнении, эти три плоскости заделки должны присутствовать. Наружный слой призван защищать слой утеплителя от проникновения в него влаги, и должен обладать паропроницаемостью для того, чтобы через него имелась вентиляция утеплителя. То есть, наружный слой должен быть водоизоляционным и паропроницаемым. Технология и правила установки окон ПВХ по ГОСТу Технология и правила установки окон ПВХ подробно изложены в ГОСТ 30971-2002 «Швы монтажные узлов примыканий оконных блоков к стеновым проемам. Общие технические условия». Так что же это за ГОСТ и чем хороша установка окон ПВХ по ГОСТу? Установка окон ПВХ должна осуществляться по ГОСТу Правильная установка конструкций в оконном проеме на 80% гарантирует их качественные потребительские свойства. Нарушение же технологии монтажа может свести к нулю все самые лучшие характеристики дорогих и качественных окон. К сожалению, в Москве нередки случаи некачественного монтажа. Некоторые фирмы в погоне за прибылью экономят на качестве и количестве расходных материалов, нарушают технологию и завышают стоимость монтажных работ. В результате некачественно выполненных монтажных работ цена вопроса для них существенно возрастает. Российские стандарты ГОСТ, а также строительные нормы и правила СНиП прописывают большое число формальностей, призванных защитить потребителей от недобросовестного отношения к своим обязанностям специализированных фирм. В частности, ГОСТом предусмотрена разработка схемы установки пластиковых окон для каждого проекта и оформление актов: сдачи-приемки оконных проемов перед монтажом проведения скрытых работ сдачи-приемки выполненных работ Возможно, наличие большого количества формальностей и необходимость подписывать промежуточные акты вызывает у многих клиентов некоторое недоумение и негодование. Однако такой подход позволяет контролировать порядок установки окон на всех этапах и гарантирует в конечном итоге отличное качество и увеличение срока службы монтажного шва. Знать правила установки по ГОСТу/СНиПам и качественно установить окна ПВХ, следуя этим правилам — обязанность профессиональных монтажников. Инструкция по установке окон ПВХ дает подробные разъяснения по трем ключевым моментам монтажа, на которые стоит обратить пристальное внимание. Окна ПВХ: установка по ГОСТу Основным преимуществом технологии правильной установки является увеличение срока службы монтажного шва. Установка по ГОСТ обеспечивает усиление защиты от ультрафиолета и влаги, которые являются самыми агрессивными разрушителями шва. Правила установки мансардных окон Частный жилой дом, в котором семья проводит много времени, должен быть и красивым, и уютным. Мансарда, то есть подкровельное помещение, во многих случаях – идеальное решение для собственного дома. Благодаря мансарде появляется дополнительное светлое и просторное помещение. Но надо понимать, что больше половины успеха Вашей мансарды обеспечивают… окна. Каких правил следует придерживаться, чтобы грамотно установить мансардные окна? Об этом и пойдет речь в нашей статье. Оптимальное освещение Для оптимального освещения мансарды необходимо правильно рассчитать количество и размер мансардных окон. Здесь необходимо соблюдать главное правило 10:1 (на каждые 10 кв м помещения — минимум 1 кв м остекления). Согласно СНиП 2.08.01-89, гостиным, студиям и детским комнатам лучше обеспечить максимум света. Следует также учитывать, что за счет использования окон больших размеров и комбинаций окон можно создать эффектные интерьеры. Мансардное окно или вертикальное? Мансардное окно пропускает на 30-40% больше света, чем вертикальное окно с такой же площадью остекления. На установку мансардного окна тратится значительно меньше времени и материалов, чем при сооружении слухового окна. Фирменные элементы монтажа (оклады) многих производителей обеспечивают надежную установку мансардного окна в кровлю. При этом такие окна будут служить долгие годы, защищать от непогоды, а любые протечки исключены. Выбор размера окна Прежде всего, окно должно обеспечить хороший обзор. Через окно Вы должны хорошо видеть не только небо, но и землю (причем, как стоя, так и сидя). Чтобы окно можно было удобно и легко открывать, оптимальное расположение ручки –185-220 см от пола. Для хорошего обзора нижний край рамы у разных моделей окон может колебаться от 90 до 120 см. По ширине мансардное окно должно быть на 4-6 см меньше, чем расстояние между стропилами. Конечно, никто не мешает Вам установить окно любого другого размера. Тут главный критерий – чтобы Вам было светло и комфортно. Всегда можно сделать подгонку стропил. Высота установки Лучше всего устанавливать окно, оставляя зазор 90-100 см между полом и нижней границы остекленной части окна. Благодаря такой высоте как стоящий, так и сидящий человек сможет любоваться прекрасным видом из окна. При этом верх окна должен располагаться на уровне от 200 до 220 см. от пола. Ориентировка по сторонам света Мансарда — взгляд на мир "свысока", а мансардное окно – настоящее окно в природу! При правильной высоте установки большие окна, выходящие на восток, позволят Вам любоваться первыми лучами солнца, а на запад — закатом. Окна, выходящие на южную сторону, будут радовать Вас обилием света зимой. Летом же от излишне жаркого солнца можно спрятаться под защитой затемняющей шторы, жалюзи или наружной шторы-маркизеты, рассеивающей до 65% света. Северная сторона немного темнее, но не должна быть унылой: можно увеличить количество окон для лучшего освещения. Внутренняя облицовка Правильно выполненная облицовка в значительной мере влияет на интерьер мансарды и на комфорт ее обитателей, поэтому эта рекомендация очень важна! Внутренние откосы производят горизонтально над окном и вертикально — под окном, с установкой под окном батареи. От правильной формы откосов зависит хорошее распространение света от окна, а также обтекание всей поверхности стекла потоком теплого воздуха от батареи. За счет этого достигается защита от образования водного пара (конденсации). Если под окном ставится подоконник, необходимо оставить зазор для потока теплого воздуха. Варианты открывания окон Большинство выпускаемых современных мансардных окон имеют удобную ручку для открывания, расположенную в верхней части окна. Именно верхнее расположение ручки обеспечивает комфорт при правильной высоте установки окна. Некоторые модели открываются по оси, соединяющей оконные короба по центру. Установив в Вашей мансарде такие модели, Вы можете разместить под окном мебель – ведь ручка для открывания все равно будет Вам доступна! Высокорасположенные окна могут открываться с помощью стержней и шнуров, а также дистанционно. Как правильно выбрать стеклопакет? Выбор стеклопакета зависит от личных предпочтений хозяина дома и функционального назначения помещения. Тем не менее, мы рекомендуем выбрать стеклопакеты с двухслойным внутренним стеклом для высокорасположенных окон. Этот вариант актуален, если существует вероятность механических воздействий, способных разрушить стеклопакет. В таких стеклопакетах между двумя стеклами есть специальная пленка, которая предотвращает падение осколков. Также надо учитывать, что стеклопакет в мансардном окне несет гораздо большую внешнюю нагрузку, чем стекло в обычном, вертикальном окне. Поэтому при изготовлении стеклопакета используют специальное закаленное стекло. Итак, мы рассказали о том, как лучше обустроить мансарду с точки зрения освещения. Мансардное окно – прекрасное решение для обеспечения помещения наружным светом и солнечным теплом. Пусть же Ваша мансарда будет приносить Вам радость круглый год! При перепечатке или частичном использовании активная ссылка на ООО "ТрейдГрупп" обязательна. Описание:Как установить пластиковые окна, как проверить, правильно ли у вас установлены окна пвх, как узнать какие этапы установки окон пвх существуют — ответы на все эти вопросы вы узнаете из ролика "Устанавливаем окна ПВХ", который снимался первым каналом по мастер-классу известной компании с комментариями Ивана Исаева Умеренный Консерватор пишет: Какая красивая русская женщина в начале. Shustrik1 пишет: Самая дешевая отделка откосов. Для видео можно было и нормальную поставить. Для дилетантов; не надо следить за мастерами, а если посмотрев это видео вы решили что уже в состоянии "следить", то у вас повышенная самооценка и скорей всего вы женщина…видимо для женщин и сделали видео.. Александр Рыбкин пишет: согласен, на 1 канале можно было-бы деревяшки не показывать, да и вместо пластин болты уж более респектабельно смотрелись Pavel Sergeyev пишет: саморезы — на самом деле — это быстрый монтаж, который начинает разбалтываться после первого же открывания/закрывания… Оскар Живой пишет: Установим пластиковые окна правильно вместе с сайтом oknacom.ru alexeymoney пишет: Да, будете сидеть и смотреть за монтажниками, точно что-нибудь накосячат.. Подоконник я так понимаю на этом видео в воздухе висит… Игорь Шмоленюк пишет: Деревянным клинышком выравнивали раму или мне показалось? 😉 rГде логика: закрыть пену от атмосферы по периметру, но оставить открытой под отливом? ;)rМожет быть, все-таки под отливом специальную ленту нужно крепить, а не пеной задувать? Vitaliy Leglyk пишет: Установить металлопластиковые окна самостоятельно на window.ucoz.uaФото и видео материал для тех-кто хочет поставить или уже имеет металлопластиковые окна! Евгений Калинин пишет: Дешевые пластиковые окна — bik-vrn.ru Умеренный Консерватор пишет: Какая красивая русская женщина в начале. Shustrik1 пишет: Самая дешевая отделка откосов. Для видео можно было и нормальную поставить. Для дилетантов; не надо следить за мастерами, а если посмотрев это видео вы решили что уже в состоянии "следить", то у вас повышенная самооценка и скорей всего вы женщина…видимо для женщин и сделали видео.. Александр Рыбкин пишет: согласен, на 1 канале можно было-бы деревяшки не показывать, да и вместо пластин болты уж более респектабельно смотрелись Pavel Sergeyev пишет: саморезы — на самом деле — это быстрый монтаж, который начинает разбалтываться после первого же открывания/закрывания… Оскар Живой пишет: Установим пластиковые окна правильно вместе с сайтом oknacom.ru alexeymoney пишет: Да, будете сидеть и смотреть за монтажниками, точно что-нибудь накосячат.. Подоконник я так понимаю на этом видео в воздухе висит… Игорь Шмоленюк пишет: Деревянным клинышком выравнивали раму или мне показалось? 😉 rГде логика: закрыть пену от атмосферы по периметру, но оставить открытой под отливом? ;)rМожет быть, все-таки под отливом специальную ленту нужно крепить, а не пеной задувать? Vitaliy Leglyk пишет: Установить металлопластиковые окна самостоятельно на window.ucoz.uaФото и видео материал для тех-кто хочет поставить или уже имеет металлопластиковые окна! Евгений Калинин пишет: Дешевые пластиковые окна — bik-vrn.ru Contents Нормы установки окон Технология и правила установки окон ПВХ по ГОСТу Нормы установки окон Правила установки пластиковых окон Нормы установки окон Комментарии специалиста: Для современного окна важен его грамотный монтаж в стенном проеме. Можно утверждать, что потребительские свойства окна наполовину зависят от его правильной установки. Однако именно в области монтажа в настоящее время ошибок... sawwood.ru Федеральный закон Российской Федерации от 30 декабря 2009 г. N 384-ФЗ "Технический регламент о безопасности зданий и сооружений" вступил в силу 1 июля 2010г (далее закон). Закон статьей 3 определил восемь видов безопасности: Статья 30, пункт 5, подпункт 3 определила в общей форме следующее: В проектной документации зданий и сооружений должны быть предусмотрены: устройства для предупреждения случайного выпадения людей из оконных проемов (в случаях, когда низ проема ниже высоты центра тяжести большинства взрослых людей) В свою очередь каждый из видов безопасности объекта капитального строительства закреплен за профильным федеральным законом и органом исполнительной власти курирующий его, например пожарная безопасность: Федеральный закон Российской Федерации от 22 июля 2008 г. N 123-ФЗ "Технический регламент о требованиях пожарной безопасности". Закреплен за МЧС России Российской Федерации. Подоконная часть в жилом многоквартирном доме В квартире можно выделить жилые и нежилые помещения, а также лоджии и балконы. Для начала выделим из квартиры помещения, где одна из стен является наружной и имеет окно, витраж или светопрозрачную ограждающую конструкцию. Предлагаю немного подробнее остановится на окне, а точнее его подоконной части. Большинство населения России проживает в домах типовых серий советского периода или относительно новых, но построенных еще по устаревшим требованиям нормативных документов. В этих домах, как правило, подоконная часть от уровня чистого пола составляла от 780мм - 1000мм. Почему же именно эти цифры стали эталоном подоконной части для большинства домов? Предполагаю, что это связано с установлением минимальной высоты помещения и как следствие размещения в наружной стене проема, обеспечивающего необходимый уровень естественного освещения и инсоляции, а также креплением к стене приборов отопления. В строительных нормах и правилах, начиная с 1955 года не встретил записи, которая бы высоту подоконной части приравнивала к опасному перепаду. В свою очередь, считаю, что высота подоконной части является местом опасного перепада. Таким образом, к ней должны быть определены минимально-необходимые требования для обеспечения безопасной эксплуатации жилища. Отмечу, что речь не идет к приведению минимальной высоты подоконной части от уровня чистого пола, к определенной величине. Необходим дифференцированный подход обеспечения безопасности при разной высоте подоконной части в наружной ограждающей конструкции! Вопрос на самом деле не простой – утвердить минимальную величину подоконной части. Какие пункты СНиПов (СП) сегодня указывают на «опасные перепады высот»? В пункте 8.3, СП 54.13330 к опасным перепадам высот отнесли: ограждения наружных лестничных маршей и площадок, балконов, лоджий, террас, кровли. В нашем случае во внимание попадает высота лоджий или балконов, которая составляет не менее 1 200мм. И это при том, что данные помещения являются не жилыми и используются периодически. Исходя, из этих требований высота подоконной части в жилых помещениях квартиры должна быть не меньше высоты ограждения лоджии или балкона. Не регулируемая высота подоконной части имеет ряд негативных последствий на безопасность жизнедеятельности собственника жилого помещения и проживающих. Сопоставим рост среднестатистического мужчины 1,75м и высоту подоконной части - 0,78 м, то окажется, что большая часть роста человека находится выше подоконной части, что уже наталкивает на мысль об обоснованности таких проектных решений. На верхних этажах жилых домов, в случае открытых окон с низкой подоконной частью (0,78м) люди определенно испытывают дискомфорт. В средствах массовой информации периодически проходит статистика о банальном выпадении людей из окон. К сожалению треть из них маленькие дети, а это в свою очередь сигнал к тому, чтобы вернуться к пересмотру действующей нормативной базы, в части минимально необходимых требований, обеспечивающих безопасную эксплуатацию жилища. Застройщики очевидно должны использовать специальную сертифицированную фурнитуру для открывания окон в домах массовой застройки, особенно эконом-класса. Примеры фурнитуры (см. рис.1, рис. 2). Но для этого необходимо закрепить обязательность нормативными документами, например ГОСТ на блоки оконные (из ПВХ или Алюминиевых профилей). Нормирование высоты подоконной части необходимо дифференцировать в зависимости от вида ограждающей конструкции, ее глубины (толщина стены), заполнение подоконной части (глухое или остекленное). В случае с глухим заполнением ограждающей конструкции (кирпичной, панельной и т.д.) необходимо нормировать высоту от уровня чистого пола до верха подоконной части. В случае с наружными не несущими стенами (светопрозрачная ограждающая конструкция) из системных профилей и стекла - к подоконной части (до горизонтального импоста) должны предъявляться особые требования по безопасной эксплуатации. Стекло следует маркировать в соответствие с ГОСТ Р 51136-2008 «Стекла защитные многослойные. Общие технические условия», где должна быть закреплена ударостойкость стекла по минимальному классу защиты твердым телом. Также регламентировать минимальную высоту «условной подоконной части» до горизонтального импоста светопрозрачной ограждающей конструкции (стены), в случае если есть открывающаяся створка. Можно не выполнять мероприятия по устройству, предъявляемые к остекленной подоконной части, но при этом должны быть выполнены ограждения со стороны помещения (или на фасаде здания). Ограждения должны быть непрерывными, оборудованы поручнями и рассчитаны на восприятие горизонтальных нагрузок не менее 0,3 кН/м. Но не стоит забывать об особенностях выполнения таких ограждающих конструкций, из системных профилей и стекла в случаях пожара или сейсмической активности. Например при спасении людей или тушении пожара по существующим заводским инструкциям по эксплуатации автолестниц верхняя часть лестницы должна, как правило, опираться на конструкции здания (п.160 ПОТ Р О-2002 «Об утверждении и введении в действие Правил по охране труда в подразделениях Государственной противопожарной службы МЧС России»). Эта нагрузка (статическая и динамическая) не учитывается при расчетах остекленных фасадов и их каркаса (прежде всего горизонтального импоста). Можно предположить, что эти действия будут сопровождаться разрушением остекления и всей светопрозрачной ограждающей конструкции, а это говорит о необходимости обязательного учета данных при проектировании. Предложение рассмотреть вопросы на профильном комитете Национального объединения проектировщиков для подготовки изменений в необходимые нормативные документы. Что же касается социально-значимых объектов, то аналогичная фурнитура должна устраиваться на каждом открывающемся окне. Есть системы позволяющие переводить окно в откидное положение для проветривания или закрывать его, не позволяя без ключа распахнуть окно. Остается важный нерешенный вопрос (за рамками Распоряжения Правительства РФ 1047-р) по минимальному открыванию створок окон в чистоте на лоджиях и балконах, через которые проникает в помещение пожарный (зона аварийного выхода). Сюда же можно отнести и мытье стекол с наружной стороны. Сегодня нормативная база по ГОСТ или ГОСТ в части заполнения проемов устарела, несмотря на то, что некоторые стандарты датируются 2003 годом. Это связано с повышением требований по звукоизоляции, теплоизоляции, вандалоустойчивости и т.д. Необходимо провести инвентаризацию действующих добровольных стандартов и составить план пересмотра. www.normacs.infoМонтажные положения элементов санитарно-технических устройств. Высота установки окна от пола снип
Снип на установку пластиковых окон
СНиП установки пластиковых окон — тепловая защита зданий
Post navigation
Гост на монтаж и установку пластиковых окон ПВХ — схемы, технологии, инструкции
Инструкция установки пластикового окна, согласно ГОСТ 30971-2012
Монтаж окон ПВХ по ГОСТ 52749-2007
Технология установки пластиковых окон, согласно ГОСТ 30674-99
Применение СНиП 23-02-2003 при установке ПВХ профилей
Схема для монтажа окна по ГОСТ 30971-2012

ГОСТ 30971-2012 для установки пластиковых окон
Монтаж окон по ГОСТу с наглядными иллюстрациями



Технологическая карта монтажа ПВХ-окна
Зазоры при установке пластиковых окон, согласно ГОСТ
Видео установки ПВХ-окон по ГОСТу
Технология установки окна ПВХ в соответствии с ГОСТом
Нормативные документы
Стандарты учитывают климатический пояс, в котором будет устанавливаться окно из пластикаПодготовка к установке
При монтаже окна с четвертью замеры ведут с внешней стороныПодготовительные работы
Чаще всего для закрепления используют саморезыМонтажные работы

Установка слива и сборка окна
Водоотлив монтируется в специальный паз с наружной частиЗаполнение зазоров
Монтаж окон по ГОСТу предусматривает обязательную гидроизоляцию зазоровУстановка подоконника
При монтаже подоконника необходимо правильно подогнать его по размерамВысота подоконника от пола – стандарты, различия

Стандартная высота подоконника от пола

Высота подоконника от пола в гостиной


Высота подоконника от пола в спальне

Высота подоконника от пола в детской

Высота подоконника от пола в кабинете

Высота подоконников от пола в кухне

Высота подоконника от пола в частном доме

Гост на монтаж и установку пластиковых окон ПВХ — схемы, технологии, инструкции /
Инструкция установки пластикового окна, согласно ГОСТ 30971-2012
Монтаж окон ПВХ по ГОСТ 52749-2007
Технология установки пластиковых окон, согласно ГОСТ 30674-99
Применение СНиП 23-02-2003 при установке ПВХ профилей
Схема для монтажа окна по ГОСТ 30971-2012

ГОСТ 30971-2012 для установки пластиковых окон
Монтаж окон по ГОСТу с наглядными иллюстрациями



Технологическая карта монтажа ПВХ-окна
Зазоры при установке пластиковых окон, согласно ГОСТ
Видео установки ПВХ-окон по ГОСТу
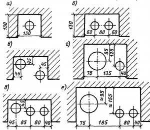
Монтажные положения элементов санитарно-технических устройств
Монтажные положения трубопроводов и элементов санитарно-технических систем относительно строительных конструкций установлены СНиП и утвержденными типовыми чертежами. Минимальные расстояния от строительных конструкций здания до нагревательных приборов следует принимать. а) для радиаторов, устанавливаемых в помещениях зданий лечебно-профилактических, санаторно-курортных и детских учреждений,— не менее 100 мм от пола, не менее 50 мм от низа подоконной доски до верха радиатора и 60 мм от поверхности штукатурки; б) для радиаторов, устанавливаемых в помещениях всех прочих зданий, — не менее 60 мм от пола, не менее 50 мм от низа подоконной доски и 25 мм от поверхности штукатурки, в) для конвекторов настенных типа «Комфорт» — не менее 150 мм от пола до низа оребрения. При открытой прокладке трубопроводов расстояние от поверхности штукатурки стен до нагревательных приборов в плане должно обеспечивать возможность прокладки подводок к приборам на прямую (без изгибов). При отсутствии подоконной доски расстояние от верха прибора до низа оконного проема принимают равным 50 мм. Подоконная ниша должна быть выше верха нагревательного прибора не менее чем на 150 мм, а ниша в глухой стене — на 250 мм. При установке нагревательного прибора под окном край прибора со стороны стояка не должен выходить за пределы оконного проема. Вертикальная ось нагревательного прибора может отклоняться от оси оконного проема не более 50 мм. В жилых зданиях (в том числе гостиничного типа, общежитиях) и вспомогательных зданиях предприятий совпадение вертикальных осей оконного проема и нагревательного прибора необязательно. Расстояние от крайней секции радиатора со стороны отопительного стояка до откоса проема принимается не менее 150+50 мм, а длина подводок к приборам — не более 400 мм Трубопроводы, прокладываемые в бороздах или шахтах, не должны примыкать вплотную к поверхности строительных конструкций. Трубопроводы и нагревательные приборы при температуре теплоносителя свыше 105° С должны отстоять от сгораемых конструкций на расстоянии не менее 100 мм или эти конструкции должны иметь теплоизоляцию. Монтажное положение радиатора со смещением от оси оконного проема показано на рис 148, а. Монтажные положения стояков центрального отопления — на рис 149. В жилых и общественных зданиях расстояние от поверхности штукатурки или облицовки стен до оси неизолированных стояков и горизонтальных трубопроводов систем отопления, холодного и горячего водоснабжения при открытой прокладке их должно составлять — при диаметре труб до 32 мм — 35 мм, а при диаметре труб 40—50 мм — 80 мм с допускаемым отклонением ±5 мм. Расстояние от магистрали до запорной арматуры, установленной на стояках, Должно быть не более 120 мм. Монтажные положения канализационных и водопроводных стояков при открытой прокладке приведены на рис. 150, а при скрытой прокладке — на рис. 151. Пожарные краны устанавливают на расстоянии 1350 мм от пола.
Рис. 149. Монтажные положения стояков центрального отопления при открытой прокладке (а) и скрытой прокладке (б)
Рис. 150. Монтажные положения стояков при открытой прокладкеI — канализационных; II — канализационных и водопроводных без изоляции; а — угловой стояк водопровода; б — угловой стояк водопровода и стояк горячего водоснабжения; в и г — угловой стояк водопровода и стояк канализации D=50 и D = 100 мм; д — стояки горячего и холодного водоснабжения с угловым стояком канализации D = 100 мм, е—стояк с пожарными кранами
а -газовый или водопроводный стояк; б — два водопроводных стояка; в — канализационный стояк D = 50 мм и водопроводный стояк; г — канализационный стояк D=100 мм и водопроводный стояк; д — канализационный стояк D=50 мм и два водопроводных стояка; е — канализационный стояк D=100 мм и два водопроводных стояка Высота от пола, м в жилых, общественных и производственных зданиях в школах в детских яслях и садах Приборы 0,8 0,7 0,6 Раковины и мойки (до верха борта) 0.85 0,85 0,85 Высоко располагаемые смывные бачки к 1,8 1.8 1.8 Клозетные чугунные чашн, утопленные в 0,3 0,3 — Настенные писсуары (до борта) 0,65 0,45 0,45 0,4 — — 0,4 0,4 0,33 0,6 — 0,65 Питьевые фонтанчики (до борта) 0,9 0,75 Полотенцесушители: 0,6 —. — до верха (не более) 1,7 — — Смывные трубы к лотковым писсуарам 1.5 1,5 Электрооборудование, коммуникации Минимальное расстояние от газопровода в свету, мм при параллельной прокладке при пересечении Электрооборудование Открытая электропроводка изолированных проводов или электрокабель 250 100 Инженерные коммуникации Водопровод, канализация и другие трубопроводы Принимается по месту, при этом должна обеспечиваться возможность монтажа, безопасной эксплуатации и ремонта газопроводов и трубопроводов Нормы установки окон | Строительный блог
Contents
Нормы установки окон
Технология и правила установки окон ПВХ по ГОСТу
Нормы установки окон
Правила установки пластиковых окон
Комментарии:
NormaCS ~ Статьи ~ Высота подоконной части в жилом многоквартирном доме
